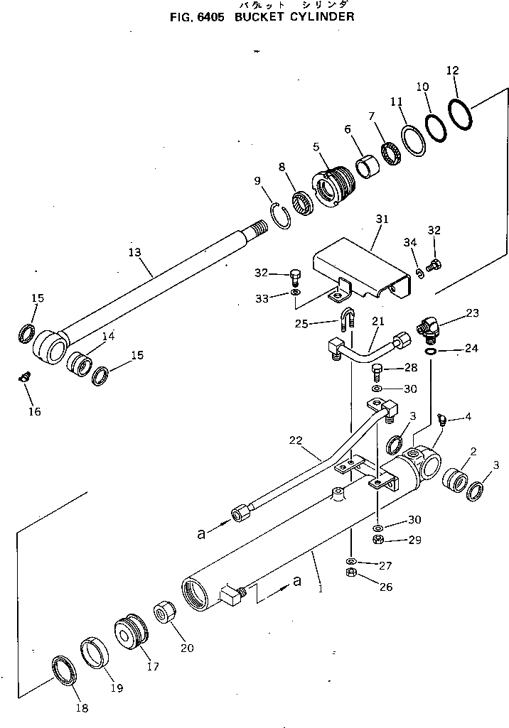
Запчасти Komatsu PC10-5 ЦИЛИНДР КОВША УПРАВЛ-Е РАБОЧИМ ОБОРУДОВАНИЕМ

Схема запчастей Komatsu PC10-5 - ЦИЛИНДР КОВША УПРАВЛ-Е РАБОЧИМ ОБОРУДОВАНИЕМ
FIT
1:1
100%

Артикул

Название

Примечание

Количество

|1

20N-63-76500

CYLINDER ASS'Y

1

20N-63-76540

CYLINDER

2

07144-10303

BUSHING

3

07145-00030

SEAL,DUST

4

07020-00900

FITTING,GREASE

5

707-29-60920

HEAD,CYLINDER

6

07177-03525

BUSHING

7

707-51-35210

PACKING,ROD

8

175-63-75190

SEAL,DUST

9

07179-00054

RING,SNAP

10

07000-12055

O-RING

11

07001-02055

RING,BACK-UP

12

07000-12060

O-RING

13

20N-63-76520

ROD,PISTON

14

07144-10303

BUSHING

15

07145-00030

SEAL,DUST

16

07020-00900

FITTING,GREASE

17

707-36-60330

PISTON,PISTON

18

07161-10060

RING,WEAR

19

07155-00615

RING

20

07165-12426

NUT

21

20N-63-76180

TUBE

22

20N-63-76570

TUBE

23

07235-10315

ELBOW

24

07002-12034

O-RING

25

07283-21529

CLIP

26

01598-00809

NUT

27

01643-30823

WASHER

28

01010-51025

BOLT

29

01580-11008

NUT

30

01605-11023

WASHER

31

20N-63-76290

GUARD

32

01010-51020

BOLT

33

01643-31032

WASHER

34

01602-21030

WASHER,SPRING

Выбрано товаров: 35