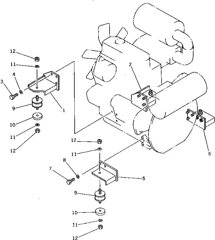
Запчасти Komatsu PC10-6 КРЕПЛЕНИЕ ДВИГАТЕЛЯ КОМПОНЕНТЫ ДВИГАТЕЛЯ И ЭЛЕКТРИКА

Схема запчастей Komatsu PC10-6 - КРЕПЛЕНИЕ ДВИГАТЕЛЯ КОМПОНЕНТЫ ДВИГАТЕЛЯ И ЭЛЕКТРИКА
FIT
1:1
100%

Артикул

Название

Примечание

Количество

1

20N-01-41610

BRACKET,L.H.

2

20N-01-41620

BRACKET,R.H.

3

01010-51230

BOLT

4

01643-31232

WASHER

5

20N-01-41630

BRACKET,L.H.

6

20N-01-41640

BRACKET,R.H.

7

01010-51025

BOLT

8

01643-31032

WASHER

9

20N-01-41680

CUSHION

9

FF7810-01110

CUSHION

10

20N-01-41650

SPACER

11

01643-31232

WASHER

12

01580-11210

NUT

Выбрано товаров: 13