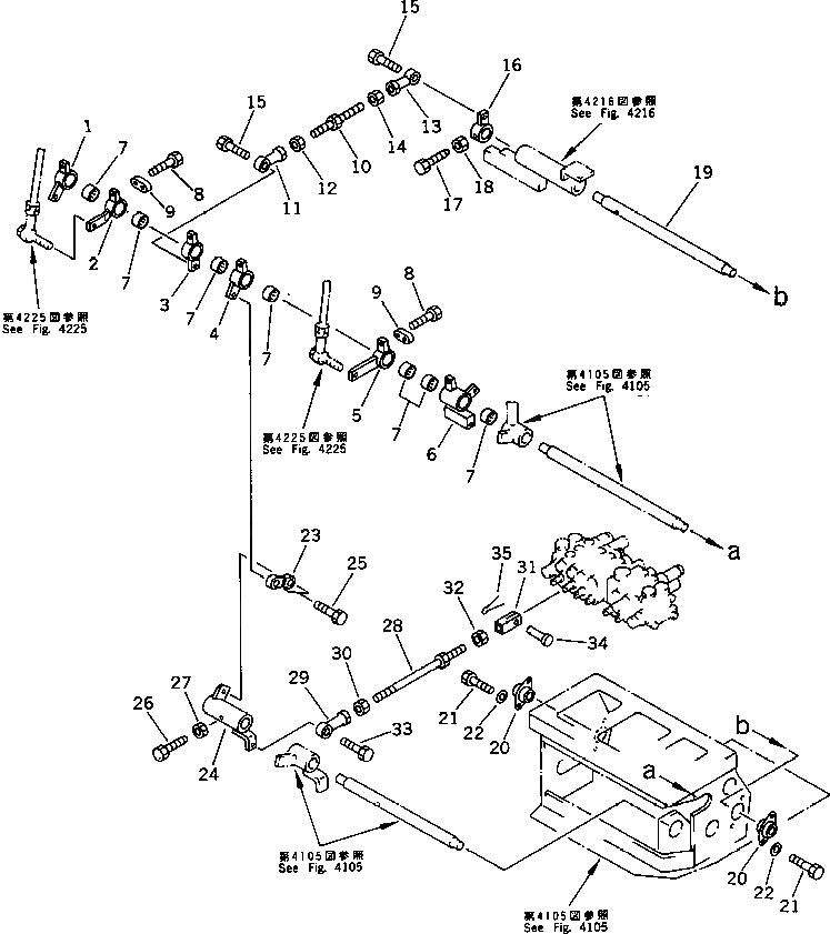
Запчасти Komatsu PC10-6 СТРЕЛА И КОВШ МЕХ-М УПРАВЛ-Я (/) (ДЛЯ -WAY УПРАВЛ-Е) СИСТЕМА УПРАВЛЕНИЯ И ОСНОВНАЯ РАМА

Схема запчастей Komatsu PC10-6 - СТРЕЛА И КОВШ МЕХ-М УПРАВЛ-Я (/) (ДЛЯ -WAY УПРАВЛ-Е) СИСТЕМА УПРАВЛЕНИЯ И ОСНОВНАЯ РАМА
FIT
1:1
100%

Артикул

Название

Примечание

Количество

1

20C-43-12411

LEVER

2

20P-43-13110

LEVER

3

20C-43-12431

LEVER

4

20P-43-13120

LEVER

5

20P-43-13130

LEVER

6

20P-43-13140

LEVER

7

195-61-34140

BEARING

8

01010-50820

BOLT

9

20N-43-43181

PLATE

10

20P-43-13540

ROD

11

04250-80847

END,ROD

12

01580-10806

NUT

13

04250-90847

END,ROD, L.H. THREAD

14

01508-20805

NUT,L.H. THREAD

15

01010-50818

BOLT

16

20P-43-13350

LEVER

17

20C-43-12360

BOLT

18

01580-10806

NUT

19

20P-43-13450

SHAFT

20

20N-43-41290

BEARING

21

01010-50816

BOLT

22

01643-30823

WASHER

23

20W-43-12710

END,ROD

24

20P-43-13210

LEVER

25

01010-50818

BOLT

26

20C-43-12360

BOLT

27

01580-10806

NUT

28

04248-30820

ROD

29

04250-90847

END,ROD, L.H. THREAD

30

01508-20805

NUT,L.H. THREAD

31

20C-43-11320

YOKE

32

01580-10806

NUT

33

01010-50818

BOLT

34

04205-10520

PIN

35

04050-11208

PIN,COTTER

Выбрано товаров: 35