Запчасти Komatsu PC10-6 ЦИЛИНДР КОВША РАБОЧЕЕ ОБОРУДОВАНИЕ

Схема запчастей Komatsu PC10-6 - ЦИЛИНДР КОВША РАБОЧЕЕ ОБОРУДОВАНИЕ
FIT
1:1
100%

Артикул

Название

Примечание

Количество

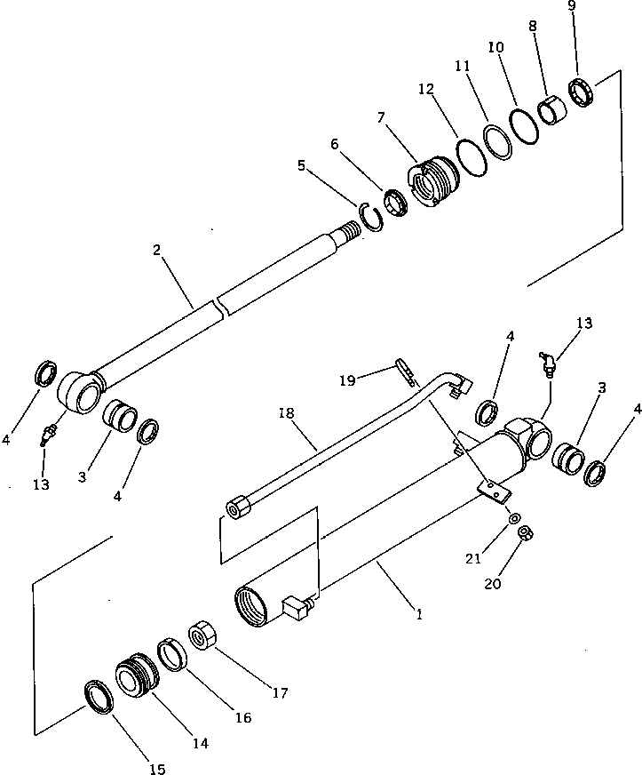
G-1

20N-63-X2040

BUCKET CYLINDER G.

|$2

20N-63-02040

CYLINDER ASS'Y,BUCKET

1

20N-63-76640

CYLINDER

2

20N-63-76620

ROD \,PISTON

3

07144-10303

BUSHING

4

07145-00030

SEAL,DUST

5

07179-12047

RING,SNAP

6

07016-20357

SEAL,DUST

7

707-29-60920

HEAD,CYLINDER

8

07177-03525

BUSHING

9

707-51-35210

PACKING,ROD

10

07000-12055

O-RING

11

07001-02055

RING,BACK-UP

12

07000-12060

O-RING

13

07020-00900

FITTING,GREASE

14

707-36-60110

PISTON

15

07161-10060

RING,PISTON

16

707-39-60190

RING,WEAR

17

07165-12426

NUT

18

20N-63-76670

TUBE

19

07283-21529

CLIP

20

01598-00809

NUT

21

01643-30823

WASHER

Выбрано товаров: 23