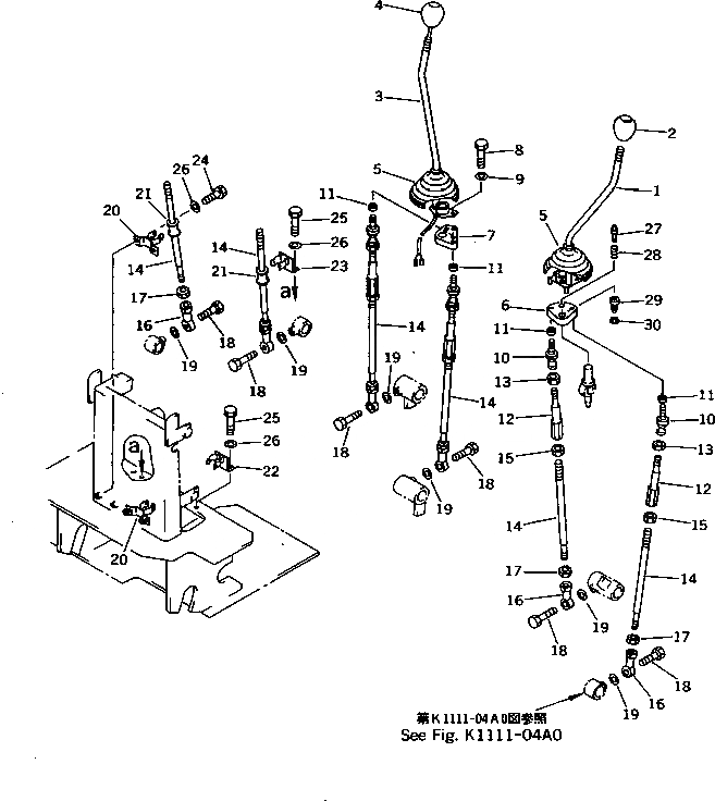
Запчасти Komatsu PC10-7 РЫЧАГ УПРАВЛЕНИЯ РАБОЧИМ ОБОРУДОВАНИЕМ (KOMATSU PATTERN)(№-777) КАБИНА ОПЕРАТОРА И СИСТЕМА УПРАВЛЕНИЯ

Схема запчастей Komatsu PC10-7 - РЫЧАГ УПРАВЛЕНИЯ РАБОЧИМ ОБОРУДОВАНИЕМ (KOMATSU PATTERN)(№-777) КАБИНА ОПЕРАТОРА И СИСТЕМА УПРАВЛЕНИЯ
FIT
1:1
100%

Артикул

Название

Примечание

Количество

1

20N-43-71143

LEVER,L.H.

2

203-43-41910

KNOB

3

20N-43-71323

LEVER,R.H.

4

20N-06-71300

SWITCH ASS'Y,HORN

|4

SWITCH,HORN

5

20M-43-71422

BOOT

6

20N-43-73111

PLATE,L.H.

7

20N-43-71971

PLATE,R.H.

8

01010-50820

BOLT

9

01643-30823

WASHER

10

20M-43-71510

BALL,LINK

11

20M-43-71480

SPACER

12

20N-43-73280

ROD

13

01580-10806

NUT

14

20N-43-73261

ROD

15

01508-41006

NUT,L.H. THREAD

16

04250-81056

END,ROD

17

01580-10806

NUT

18

20P-43-71220

BOLT

19

04254-11032

SPACER

20

20N-43-73220

BRACKET

21

20N-43-73251

COLLAR

22

20N-43-73230

BRACKET

23

20N-43-73240

BRACKET

24

01010-50616

BOLT

25

01010-50620

BOLT

26

01643-30623

WASHER

27

20N-43-73121

PIN

28

20N-43-73131

SPRING

29

20N-43-73141

HOOK

30

FF0308-00040

RING,SNAP

Выбрано товаров: 31