Запчасти Komatsu PC10-7 МЕХ-М УПРАВЛ-Я РАБОЧ. ОБОРУД-EM(№-777) КАБИНА ОПЕРАТОРА И СИСТЕМА УПРАВЛЕНИЯ

Схема запчастей Komatsu PC10-7 - МЕХ-М УПРАВЛ-Я РАБОЧ. ОБОРУД-EM(№-777) КАБИНА ОПЕРАТОРА И СИСТЕМА УПРАВЛЕНИЯ
FIT
1:1
100%

Артикул

Название

Примечание

Количество

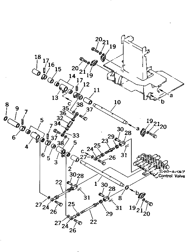
1

20N-43-71623

SHAFT

2

20N-43-71890

COLLAR

3

20N-43-71881

LEVER,ARM

4

20N-43-71273

LEVER,BUCKET

5

195-61-34140

BEARING

6

20N-43-71232

LEVER

7

04025-00640

PIN,SPRING

8

01640-22032

WASHER

9

20N-43-73390

COLLAR

10

20N-43-71673

SHAFT

11

20N-43-73380

COLLAR

12

20N-43-71292

LEVER,ARM

13

20N-43-71312

LEVER,BOOM

14

195-61-34140

BEARING

15

20N-43-71781

COLLAR

16

20N-43-71232

LEVER

17

04025-00640

PIN,SPRING

18

20N-43-73370

COLLAR

19

20N-43-41290

BEARING

20

01010-50820

BOLT

21

01643-30823

WASHER

22

04248-30820

ROD

23

04248-30809

ROD

24

04250-90847

END,ROD¤ L.H. THREAD

25

01508-40805

NUT,L.H. THREAD

26

01010-50825

BOLT

27

01643-30823

WASHER

28

20C-43-11320

YOKE

29

01580-10806

NUT

30

04205-10520

PIN

31

04050-11210

PIN,COTTER

32

20C-43-12850

BACKLE,TURN

33

20C-43-12820

END,ROD¤ L.H. THREAD

34

01508-40805

NUT,L.H. THREAD

35

20C-43-12810

END,ROD

36

01580-10806

NUT

37

01010-50825

BOLT

38

01643-30823

WASHER

Выбрано товаров: 38