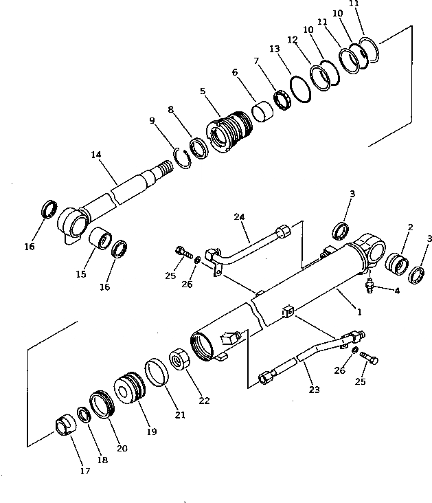
Запчасти Komatsu PC10-7 ЦИЛИНДР СТРЕЛЫ РАБОЧЕЕ ОБОРУДОВАНИЕ

Схема запчастей Komatsu PC10-7 - ЦИЛИНДР СТРЕЛЫ РАБОЧЕЕ ОБОРУДОВАНИЕ
FIT
1:1
100%

Артикул

Название

Примечание

Количество

G1

20N-63-X2203

CYLINDER GROUP

|1

20N-63-02203

CYLINDER ASS'Y

|1

20N-63-02202

CYLINDER ASS'Y

1

20N-63-57142

CYLINDER

2

707-76-35180

BUSHING

3

07145-00035

SEAL,DUST (K1)

4

07020-00000

FITTING,GREASE

5

707-29-70250

HEAD,CYLINDER

|5

707-29-70150

HEAD,CYLINDER

6

07177-04025

BUSHING

7

707-51-40210

PACKING,ROD (K1)

8

198-63-75190

SEAL,DUST (K1)

9

07179-12052

RING,SNAP

10

07000-12065

O-RING (K1)

11

07146-02066

RING,BACK-UP (K1)

12

707-35-52640

RING,BACK-UP (K1)

13

07000-02070

O-RING (K1)

14

20N-63-57121

ROD,PISTON

15

07143-10304

BUSHING

16

07145-00035

SEAL,DUST (K1)

17

707-71-60470

PLUNGER

|17

707-71-60440

PLUNGER

18

707-40-70570

RETAINER

19

707-36-70560

PISTON

20

707-44-70180

RING,PISTON (K1)

21

07156-00710

RING,WEAR (K1)

22

01580-02722

NUT

23

20N-63-57172

TUBE

24

20R-63-57181

TUBE

25

01010-51020

BOLT

26

01643-31032

WASHER

Выбрано товаров: 31