Запчасти Komatsu PC10-7 ГИДР. БАК.(№-777) ГИДРАВЛИКА

Схема запчастей Komatsu PC10-7 - ГИДР. БАК.(№-777) ГИДРАВЛИКА
FIT
1:1
100%

Артикул

Название

Примечание

Количество

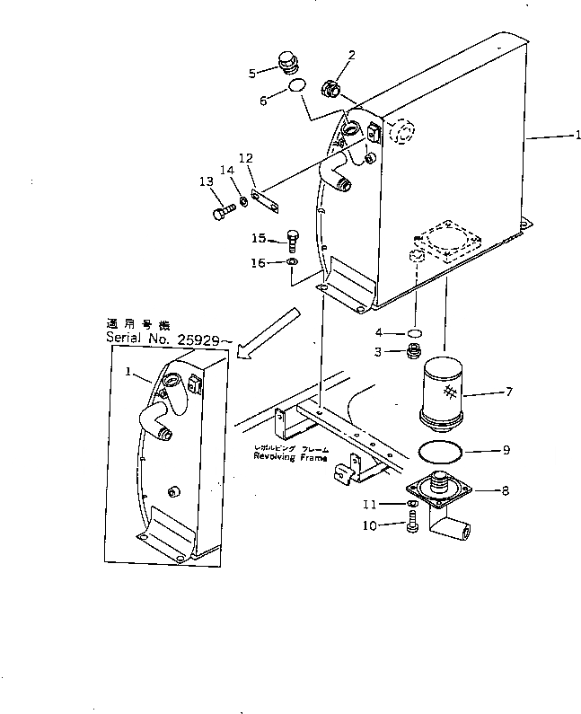
1

20P-60-72110

TANK

2

20N-60-11141

GAUGE,OIL

|2

20N-60-11180

GASKET

3

07044-12412

PLUG

4

07002-02434

O-RING

5

21S-60-11160

PLUG

6

07002-04234

O-RING

7

21E-60-11130

STRAINER

8

20N-62-72111

TUBE

9

07000-02110

O-RING

10

01010-51020

BOLT

11

01643-31032

WASHER

12

20P-60-72150

PLATE

13

01010-51020

BOLT

14

01643-31032

WASHER

15

01010-51220

BOLT

16

01643-31232

WASHER

Выбрано товаров: 17