Запчасти Komatsu PC10-7 КОМПОНЕНТЫ ДВИГАТЕЛЯ(№7777-) КОМПОНЕНТЫ ДВИГАТЕЛЯ

Схема запчастей Komatsu PC10-7 - КОМПОНЕНТЫ ДВИГАТЕЛЯ(№7777-) КОМПОНЕНТЫ ДВИГАТЕЛЯ
FIT
1:1
100%

Артикул

Название

Примечание

Количество

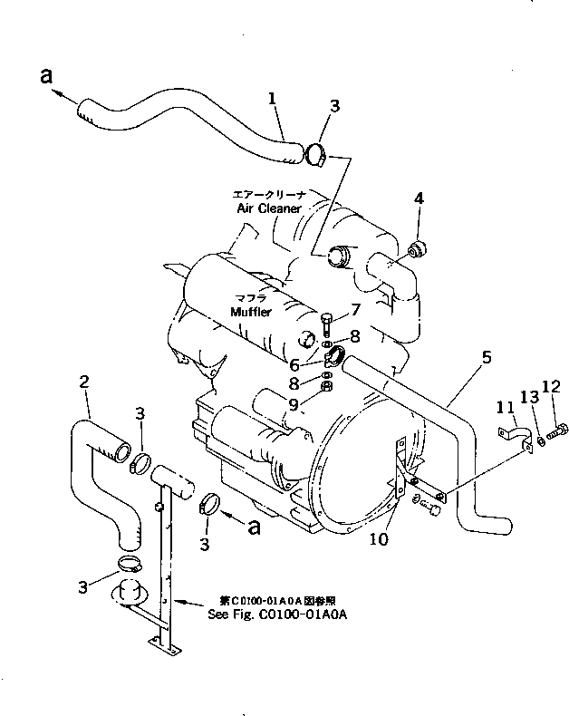
1

20N-01-71117

HOSE,AIR CLEANER

2

20N-01-71171

HOSE,AIR CLEANER

3

07280-05429

CLAMP

4

600-181-0120

INDICATOR,DUST

5

20N-01-71126

PIPE,EXHAUST

6

20N-01-41120

CLAMP

7

01010-50860

BOLT

8

01643-30823

WASHER

9

01580-10806

NUT

10

20N-01-71132

BRACKET PAINT(1)

11

20N-01-22180

CLAMP

12

01010-51020

BOLT

13

01643-31032

WASHER

Выбрано товаров: 13