Качественные детали и логистика
Оригинальные и аналоговые запчасти с доставкой по России, Казахстану и Беларуси
©2022 PartSell ООО "Система" ИНН 2463123282 ОГРН 1212400004838
Центральный офис: г. Красноярск, Академика Киренского, д.87, пом.4
Телефон: 8 (800) 777-65-74 Email: zakaz@partsell.ru
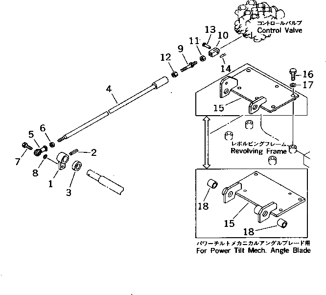
ПОВОРОТН. МЕХ-М УПРАВЛ-Я(№-777)
№
Артикул
Название
Примечание
Количество
1
20N-43-71242
LEVER
2
04025-00632
PIN,SPRING
3
20N-43-73360
COLLAR
4
20N-43-73320
ROD
5
04250-80847
END,ROD
6
01580-10806
NUT
7
01010-50825
BOLT
8
01643-30823
WASHER
9
20N-43-42571
10
20C-43-11320
YOKE
11
12
01508-40805
NUT,L.H. THREAD
13
04205-10520
PIN
14
04050-11210
PIN,COTTER
15
20N-43-71921
BRACKET
20P-43-71330
BRACKET,POWER TILT MECH. ANGLE BLADE
16
01010-51020
17
01643-31032
18
09350-02020
BUSHING,POWER TILT MECH. ANGLE BLADE
Выбрано товаров: 0