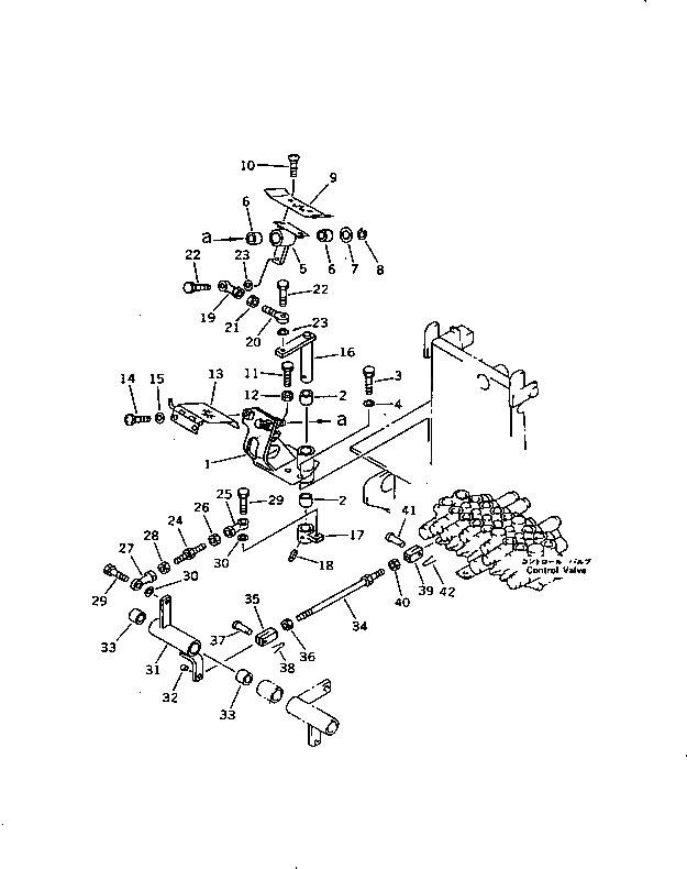
Запчасти Komatsu PC10-7 ПОВОРОТ СТРЕЛЫ ПЕДАЛЬ И МЕХАНИЗМ(№-777) КАБИНА ОПЕРАТОРА И СИСТЕМА УПРАВЛЕНИЯ

Схема запчастей Komatsu PC10-7 - ПОВОРОТ СТРЕЛЫ ПЕДАЛЬ И МЕХАНИЗМ(№-777) КАБИНА ОПЕРАТОРА И СИСТЕМА УПРАВЛЕНИЯ
FIT
1:1
100%

Артикул

Название

Примечание

Количество

1

20N-43-71464

BRACKET

1

20N-43-71463

BRACKET

2

06124-02020

BEARING

2

09350-02020

BUSHING

3

01010-51025

BOLT

4

01643-31032

WASHER

5

20N-43-73181

LEVER

5

20N-43-73180

LEVER

6

06124-02020

BEARING

6

09350-02020

BUSHING

7

01643-31445

WASHER

8

04064-01410

RING,SNAP

9

20N-43-73170

PLATE

10

01225-40816

SCREW

11

01016-50825

BOLT

12

01580-10806

NUT

13

20N-43-73191

PLATE,LOCK

13

09455-13016

HINGE (WELDED)

14

01235-40816

SCREW

15

01643-30823

WASHER

16

20N-43-71472

LEVER

17

20N-43-71481

LEVER

18

04025-00632

PIN,SPRING

19

04250-80847

END,ROD

20

04252-20853

END,ROD

21

01580-10806

NUT

22

01010-50825

BOLT

23

01643-30823

WASHER

24

20P-43-13540

ROD

25

04250-90847

END,ROD, L.H. THREAD

26

01508-40805

NUT,L.H. THREAD

27

04250-80847

END,ROD

28

01580-10806

NUT

29

01010-50825

BOLT

30

01643-30823

WASHER

31

20N-43-71493

LEVER

32

06600-00805

BUSHING

33

09350-02220

BUSHING

34

04248-30825

ROD

35

04220-20832

YOKE

36

01508-40805

NUT,L.H. THREAD

37

04205-10822

PIN

38

04050-12015

PIN,COTTER

39

20C-43-11320

YOKE

40

01580-10806

NUT

41

04205-10520

PIN

42

04050-11210

PIN,COTTER

Выбрано товаров: 0