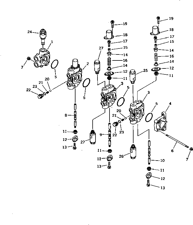
Запчасти Komatsu PC10-7 ГИДРАВЛ УПРАВЛЯЮЩ. КЛАПАН (3-Х СЕКЦИОНН.) (/) (ДЛЯ НАКЛОНЯЕМ. МЕХАНИЧ. ОТВАЛ С ИЗМ. УГЛОМ ПОВОРОТА) ГИДРАВЛИКА

Схема запчастей Komatsu PC10-7 - ГИДРАВЛ УПРАВЛЯЮЩ. КЛАПАН (3-Х СЕКЦИОНН.) (/) (ДЛЯ НАКЛОНЯЕМ.     МЕХАНИЧ. ОТВАЛ С ИЗМ. УГЛОМ ПОВОРОТА) ГИДРАВЛИКА
FIT
1:1
100%

Артикул

Название

Примечание

Количество

|$0

709-33-13300

VALVE ASS'Y

1

BLOCK

2

BLOCK

3

BLOCK

4

COVER

5

07000-12055

O-RING

6

709-33-11510

STUD

7

01580-10806

NUT

8

SPOOL,BLADE

9

SPOOL,SWING

10

SPOOL,BLADE TILT

11

709-32-11530

SEAL,DUST

12

709-32-11540

PLATE

13

01252-30610

BOLT

14

709-32-11550

RETAINER

15

709-32-11560

COLLAR

16

709-32-11580

SPRING

17

01252-30620

BOLT

18

709-32-11570

COVER

19

01252-30616

BOLT

20

04260-01270

BALL

21

709-32-11820

SPRING

22

709-32-11810

PLUG

23

07002-11823

O-RING

24

700-28-51000

VALVE ASS'Y,MAIN RELIEF

25

709-30-62201

VALVE ASS'Y,SUCTION AND SAFETY

26

709-30-62701

VALVE ASS'Y,SUCTION AND SAFETY

27

709-30-62601

VALVE ASS'Y,SUCTION AND SAFETY

Выбрано товаров: 28