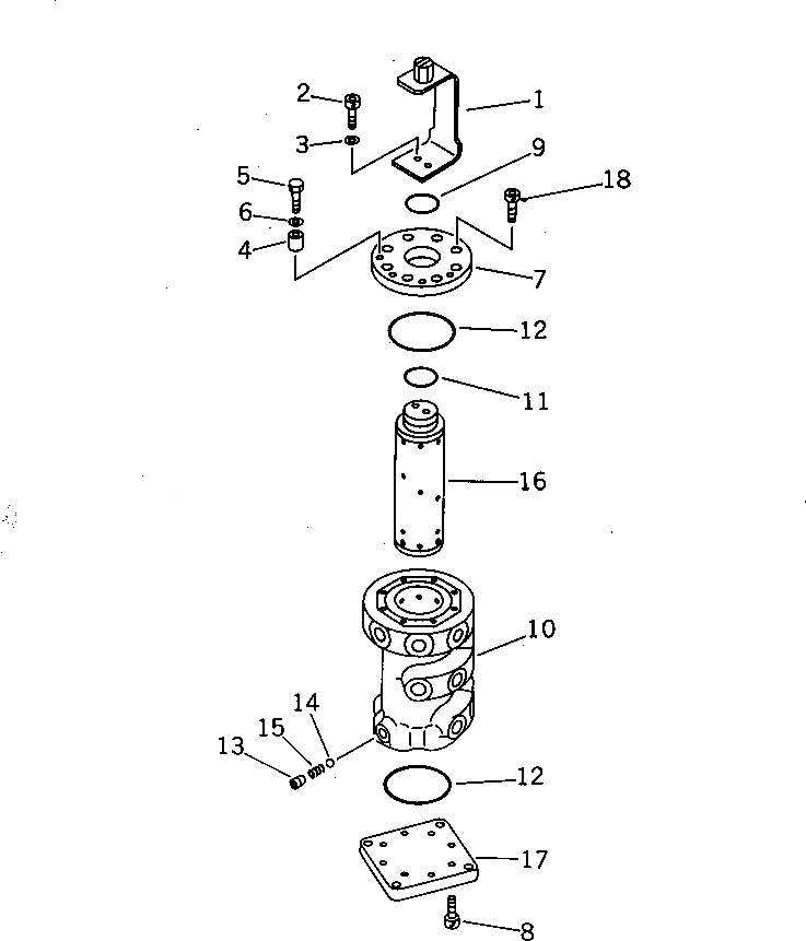
Запчасти Komatsu PC10-7 SELECT КЛАПАН (ДЛЯ MULTPLE PATTERN)(№7777-) ГИДРАВЛИКА

Схема запчастей Komatsu PC10-7 - SELECT КЛАПАН (ДЛЯ MULTPLE PATTERN)(№7777-) ГИДРАВЛИКА
FIT
1:1
100%

Артикул

Название

Примечание

Количество

|$0

21X-62-21500

VALVE ASS'Y

1

21X-62-21490

LEVER

2

01252-30616

BOLT

3

01643-30623

WASHER

4

424-09-12640

SPACER

5

01010-50625

BOLT

6

01643-30623

WASHER

7

203-62-59230

COVER

8

01252-30616

BOLT

9

07000-03035

O-RING

10

BODY

11

07000-03028

O-RING

12

07000-02060

O-RING

13

07043-00108

PLUG

14

04260-00793

BALL

15

236-10-12240

SPRING

16

SHAFT

17

203-62-58980

COVER

18

01252-30616

BOLT

Выбрано товаров: 19