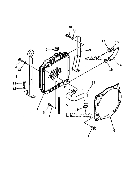
Запчасти Komatsu PC10-7 РАДИАТОР И ТРУБЫ(№-777) СИСТЕМА ОХЛАЖДЕНИЯ

Схема запчастей Komatsu PC10-7 - РАДИАТОР И ТРУБЫ(№-777) СИСТЕМА ОХЛАЖДЕНИЯ
FIT
1:1
100%

Артикул

Название

Примечание

Количество

1

20N-03-71110

CORE ASS'Y

2

201-03-51310

CAP

3

205-03-62660

PLUG

4

07000-01007

O-RING

5

07270-00829

TUBE

6

20N-03-41120

SHROUD

7

01435-00814

BOLT

8

20N-03-71142

BRACKET

9

20N-03-71151

BRACKET

10

01010-50820

BOLT

11

01010-50825

BOLT

12

01643-30823

WASHER

13

20N-03-71130

HOSE

14

20N-03-71120

HOSE

15

07280-03826

CLAMP

Выбрано товаров: 15