Запчасти Komatsu PC100-1 SHALНИЗ. НИЖН. КОВШ¤.M¤ ШИР. 8MM ОПЦИОННЫЕ КОМПОНЕНТЫ

Схема запчастей Komatsu PC100-1 - SHALНИЗ. НИЖН. КОВШ¤.M¤ ШИР. 8MM ОПЦИОННЫЕ КОМПОНЕНТЫ
FIT
1:1
100%

Артикул

Название

Примечание

Количество

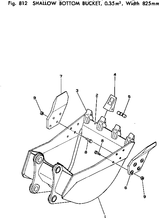
1

203-927-2110

BUCKET, 0.35M3

2

203-927-2120

LIP (WELDED)

3

202-70-12140

ADAPTER (WELDED)

4

202-70-12130

TOOTH

5

09244-02489

PIN

6

203-70-34210

CUTTER,L.H.

7

203-70-34220

CUTTER,R.H.

8

01802-02262

BOLT

9

01803-02228

NUT

Выбрано товаров: 9