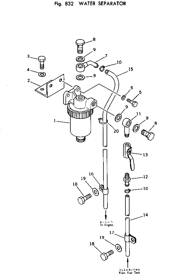
Запчасти Komatsu PC100-1 ВОДООТДЕЛИТЕЛЬ ОПЦИОННЫЕ КОМПОНЕНТЫ

Схема запчастей Komatsu PC100-1 - ВОДООТДЕЛИТЕЛЬ ОПЦИОННЫЕ КОМПОНЕНТЫ
FIT
1:1
100%

Артикул

Название

Примечание

Количество

1

600-311-9800

WATER SEPARATOR A.

2

203-04-31180

BRACKET

3

01010-31030

BOLT

4

01643-31032

WASHER

5

01010-30825

BOLT

6

01602-00825

WASHER,SPRING

7

203-04-31210

JOINT

8

07206-11014

BOLT

9

07005-01412

GASKET

10

07281-00197

CLAMP

11

205-04-62140

JOINT

12

236-43-24210

JOINT

13

07700-40240

VALVE

14

203-04-31161

HOSE

15

203-04-31171

HOSE

16

08036-01814

CLIP

17

08036-02514

CLIP

18

01010-31230

BOLT

19

01643-31232

WASHER

Выбрано товаров: 19