Запчасти Komatsu PC100-1 ЭЛЕКТРИКА (PC)(№-) КОМПОНЕНТЫ ДВИГАТЕЛЯ И ЭЛЕКТРИКА

Схема запчастей Komatsu PC100-1 - ЭЛЕКТРИКА (PC)(№-) КОМПОНЕНТЫ ДВИГАТЕЛЯ И ЭЛЕКТРИКА
FIT
1:1
100%

Артикул

Название

Примечание

Количество

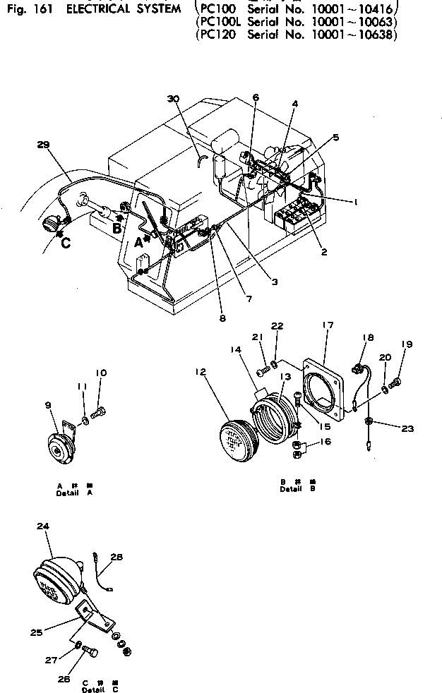
1

08028-12175

CABLE

2

08038-04030

CAP,TERMINAL

3

203-06-31310

WIRE ASS'Y

4

08038-00519

CAP,TERMINAL

5

08034-00414

BAND

6

08036-10610

CLIP

7

08034-00519

BAND

8

206-54-15750

SEAL

9

175-06-39170

HORN

10

01010-30816

BOLT

11

01602-00825

WASHER,SPRING

12

203-06-31300

LAMP ASS'Y

12

08113-02480

BULB, 80W

13

08128-00003

HOLDER

14

08128-00004

BAND

15

01220-40420

SCREW

16

01580-10403

NUT

17

203-06-31340

BASE

18

175-06-23230

SOCKET

19

01220-30408

SCREW

20

01601-00410

WASHER,SPRING

21

01220-30816

SCREW

22

01602-00825

WASHER,SPRING

23

08037-01610

GROMMET

24

08128-32400

LAMP

24

08113-02480

BULB, 80W

24

08128-00003

HOLDER

24

08128-00004

BAND

25

203-06-21290

PLATE

26

01010-31430

BOLT

27

01643-31445

WASHER

28

205-06-51390

CABLE

29

203-06-21331

WIRE

30

08028-12045

CABLE

Выбрано товаров: 34