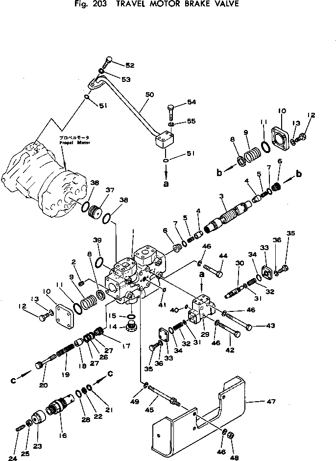
Запчасти Komatsu PC100-1 МОТОР ХОДА ТОРМОЗНОЙ КЛАПАН(№O-) ХОД И КОНЕЧНАЯ ПЕРЕДАЧА

Схема запчастей Komatsu PC100-1 - МОТОР ХОДА ТОРМОЗНОЙ КЛАПАН(№O-) ХОД И КОНЕЧНАЯ ПЕРЕДАЧА
FIT
1:1
100%

Артикул

Название

Примечание

Количество

|$0

706-75-02903

TRAVEL MOTOR ASS'Y,KMFA090B

|$1

706-75-72104

BRAKE VALVE ASS'Y

1

BODY,VALVE

2

SCREW

3

SPOOL

4

706-75-71320

VALVE

5

700-42-31210

SPRING

6

706-75-70150

PLUG

7

07002-12034

O-RING

8

706-75-70160

PLATE

9

706-75-71220

SPRING

10

706-75-71210

PLATE

11

07000-13048

O-RING

12

01010-61060

BOLT

13

01602-01030

WASHER,SPRING

14

700-22-11370

PLUG

15

07002-12434

O-RING

|$17

706-75-75100

VALVE ASS'Y

16

SLEEVE

17

SEAT

18

VALVE

19

SPRING

20

PISTON

21

O-RING

22

RING,BACK-UP

23

PLUG

24

SCREW

25

NUT

26

O-RING

27

RING,BACK-UP

28

O-RING

|$31

706-75-77100

VALVE ASS'Y

29

BODY,VALVE

30

SPOOL

31

706-75-72730

PLATE

32

706-75-77110

SPRING

33

706-75-72750

PLATE

34

07000-12021

O-RING

35

01010-60618

BOLT

36

01602-00619

WASHER,SPRING

37

706-75-90190

RING

38

07000-03035

O-RING

39

07000-13032

O-RING

40

07000-12010

O-RING

41

07000-02011

O-RING

42

01011-31215

BOLT

43

01011-31245

BOLT

44

01011-31205

BOLT

45

706-75-72950

BOLT

46

01602-01236

WASHER,SPRING

47

706-75-72941

GUARD

48

01580-01210

NUT

49

01602-01236

WASHER,SPRING

50

706-75-72910

TUBE

51

07000-12016

O-RING

52

01010-31030

BOLT

53

01602-01030

WASHER,SPRING

54

01010-30840

BOLT

55

01602-00825

WASHER,SPRING

Выбрано товаров: 59