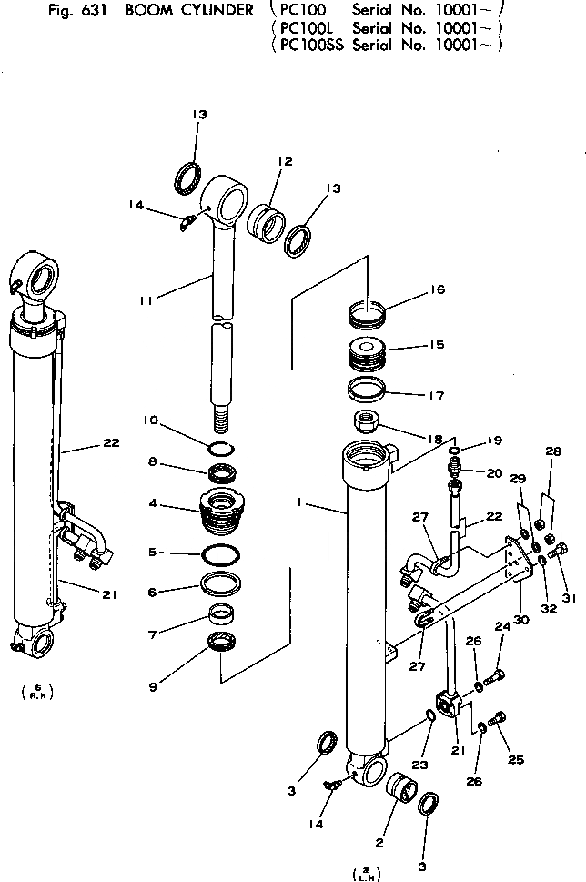
Запчасти Komatsu PC100-1 ЦИЛИНДР СТРЕЛЫ ГИДРАВЛИКА

Схема запчастей Komatsu PC100-1 - ЦИЛИНДР СТРЕЛЫ ГИДРАВЛИКА
FIT
1:1
100%

Артикул

Название

Примечание

Количество

|$0

202-63-52100

CYLINDER ASS'Y,L.H.

|$1

202-63-52200

CYLINDER ASS'Y,R.H.

1

202-63-52140

CYLINDER

2

203-63-76580

BUSHING

3

07145-00060

SEAL,DUST (KIT)

4

707-29-11490

HEAD,CYLINDER

5

07000-12115

O-RING (KIT)

6

20D-63-32290

RING,BACK-UP (KIT)

7

07177-06530

BUSHING

8

144-63-92170

SEAL,DUST (KIT)

9

707-51-65211

PACKING,ROD (KIT)

10

07179-00088

RING,SNAP

11

202-63-52120

ROD,PISTON

12

202-63-46440

BUSHING

13

07145-00085

SEAL,DUST (KIT)

14

07020-00675

FITTING

15

707-36-11590

PISTON

16

707-44-11080

RING,PISTON (KIT)

17

07155-01125

RING,WEAR (KIT)

18

07165-14547

NUT,NYLON

19

07002-12434

O-RING (KIT)

20

07230-10628

UNION

21

202-63-52180

TUBE,L.H.

21

202-63-52280

TUBE,R.H.

22

202-63-52190

TUBE,L.H.

22

202-63-52290

TUBE,R.H.

23

07000-13030

O-RING

24

01010-50850

BOLT

25

01010-50835

BOLT

26

01602-20825

WASHER,SPRING

27

07283-12738

CLIP

28

01599-01011

NUT

29

01643-31032

WASHER

30

202-63-46490

PLATE

31

01010-51025

BOLT

32

01605-11023

WASHER

Выбрано товаров: 36