Запчасти Komatsu PC100-1 ГЛУШИТЕЛЬ - КЛАПАН ТРУБЫ (PCSS) ГИДРАВЛИКА

Схема запчастей Komatsu PC100-1 - ГЛУШИТЕЛЬ - КЛАПАН ТРУБЫ (PCSS) ГИДРАВЛИКА
FIT
1:1
100%

Артикул

Название

Примечание

Количество

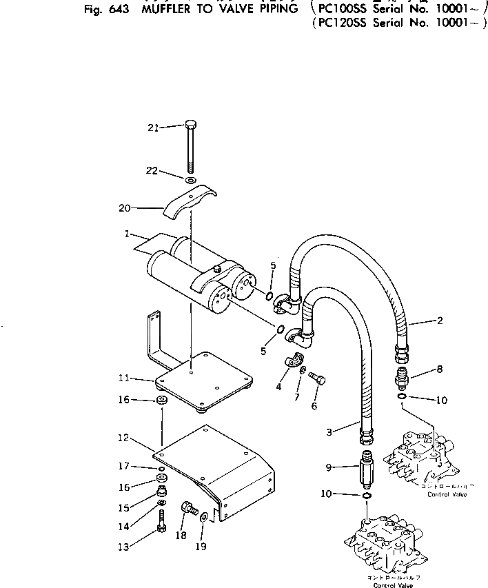
1

206-62-41450

MUFFLER

2

203-62-32220

HOSE

3

203-62-32230

HOSE

4

07371-21049

FLANGE

5

07000-13032

O-RING

6

01010-31035

BOLT

7

01602-01030

WASHER

8

07230-11034

UNION

9

202-62-11251

NIPPLE

10

07002-13334

O-RING

11

203-62-32250

BRACKET

12

206-62-41410

BRACKET

13

01010-31050

BOLT

14

01643-31032

WASHER

15

206-62-41440

COLLAR

16

206-62-41430

CUSHION

17

07000-02020

O-RING

18

01010-31230

BOLT

19

01643-31232

WASHER

20

206-62-41460

CLAMP

21

01011-31250

BOLT

22

01643-31232

WASHER

Выбрано товаров: 22