Запчасти Komatsu PC100-2 ГИДРОЛИНИЯ (КЛАПАН T/F РУКОЯТЬ CYL.) (ШАССИ)(PCD) ГИДРАВЛИКА

Схема запчастей Komatsu PC100-2 - ГИДРОЛИНИЯ (КЛАПАН T/F РУКОЯТЬ CYL.) (ШАССИ)(PCD) ГИДРАВЛИКА
FIT
1:1
100%

Артикул

Название

Примечание

Количество

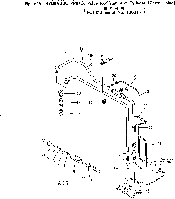
1

202-62-41281

TUBE

2

203-62-31950

TUBE

3

203-62-11410

NIPPLE

4

07002-12434

O-RING

|5

202-60-31200

VALVE ASS'Y,SLOW RETURN

5

203-60-21280

BODY

6

202-60-31111

POPPET

7

203-60-21310

SPRING

8

205-60-51320

SEAT

9

04065-02812

RING

10

202-62-14170

NIPPLE

11

07002-13334

O-RING

12

202-62-41590

HOSE

13

202-62-41170

COUPLING

14

202-62-41180

COUPLING

15

202-62-41270

NIPPLE

16

203-62-31870

PLATE

17

07283-22738

CLIP

18

01599-01011

NUT

19

01643-31032

WASHER

20

203-62-21740

NIPPLE

21

203-62-31781

HOSE

22

08034-00519

BAND

Выбрано товаров: 0