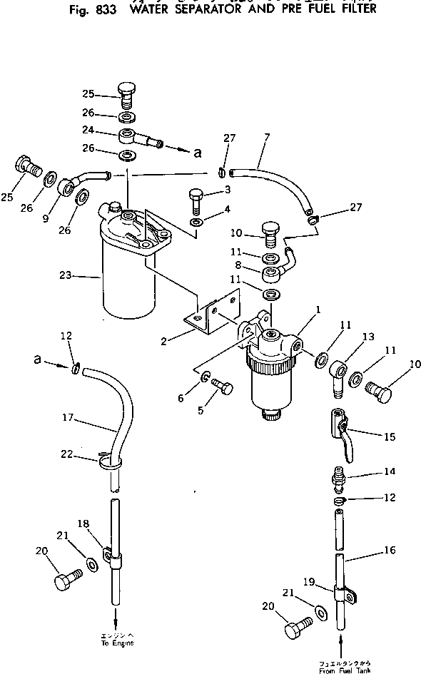
Запчасти Komatsu PC100-2 ВОДООТДЕЛИТЕЛЬ И PRE ТОПЛИВН. ФИЛЬТР.(№-) ОПЦИОННЫЕ КОМПОНЕНТЫ

Схема запчастей Komatsu PC100-2 - ВОДООТДЕЛИТЕЛЬ И PRE ТОПЛИВН. ФИЛЬТР.(№-) ОПЦИОННЫЕ КОМПОНЕНТЫ
FIT
1:1
100%

Артикул

Название

Примечание

Количество

1

600-311-9800

WATER SEPARATOR A.

2

203-04-31180

BRACKET

3

01016-31035

BOLT

4

01643-31032

WASHER

5

01010-30825

BOLT

6

01602-00825

WASHER,SPRING

7

203-04-31220

HOSE

8

203-04-31190

JOINT

9

203-04-31210

JOINT

10

07206-11014

BOLT

11

07005-01412

GASKET

12

07281-00197

CLAMP

13

205-04-62140

JOINT

14

236-43-24210

JOINT

15

07700-40240

VALVE

16

203-04-31161

HOSE

17

203-04-31171

HOSE

18

08036-01814

CLIP

19

08036-02514

CLIP

20

01010-31230

BOLT

21

01643-31232

WASHER

22

08034-00414

BAND

23

600-311-9200

FUEL FILTER ASS'Y

24

6141-71-1710

JOINT

25

07206-11014

BOLT

26

07005-01412

GASKET

27

07281-00197

CLAMP

Выбрано товаров: 27