Запчасти Komatsu PC100-2 CAR ЛИНИЯ ОХЛАЖДЕНИЯ ОПЦИОННЫЕ КОМПОНЕНТЫ

Схема запчастей Komatsu PC100-2 - CAR ЛИНИЯ ОХЛАЖДЕНИЯ ОПЦИОННЫЕ КОМПОНЕНТЫ
FIT
1:1
100%

Артикул

Название

Примечание

Количество

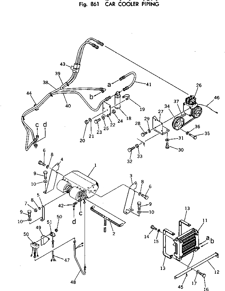
1

205-981-5110

COOLING UNIT

2

205-98-15170

HOSE,DRAIN

3

206-988-2140

BRACKET,L.H.

4

206-988-2150

BRACKET,R.H.

5

205-981-5350

BRACKET

6

01010-30825

BOLT

7

01580-00806

NUT

8

01602-00825

WASHER,SPRING

9

01010-31230

BOLT

10

01643-31232

WASHER

11

205-981-5120

CONDENSER UNIT

12

203-978-3120

BRACKET

13

203-978-3130

BRACKET

14

01010-30825

BOLT

15

01602-00825

WASHER,SPRING

16

01010-31025

BOLT

17

01643-31032

WASHER

18

566-07-11240

RECEIVER,DRYER

19

07283-26155

CLIP

20

01599-01011

NUT

21

01643-31032

WASHER

22

203-978-3160

BRACKET

23

01010-31025

BOLT

24

01580-01008

NUT

25

01643-31032

WASHER

26

205-981-5130

COMPRESSOR ASS'Y

27

203-978-3110

BRACKET

28

01010-30825

BOLT

29

01602-00825

WASHER,SPRING

30

01010-31025

BOLT

31

01643-31032

WASHER

32

01016-31050

BOLT

33

01580-01008

NUT

34

203-978-3141

PULLEY

35

01010-30845

BOLT

36

01602-00825

WASHER,SPRING

37

04120-21741

V-BELT

38

203-978-3170

HOSE

39

09488-20625

HOSE

40

09488-20530

HOSE

41

09488-00505

HOSE

42

205-981-5250

ELBOW

43

203-977-3110

COVER

44

08034-00536

BAND

45

205-981-5410

WIRE ASS'Y

46

203-981-2140

WIRE ASS'Y

47

203-981-2150

WIRE ASS'Y

48

203-981-2160

WIRE ASS'Y

49

205-978-6170

BRACKET

50

205-981-5150

PANEL ASS'Y

51

205-981-5160

RELAY

Выбрано товаров: 0