Запчасти Komatsu PC100-2 ЭЛЕКТРИКА (PC)(№98-) КОМПОНЕНТЫ ДВИГАТЕЛЯ И ЭЛЕКТРИКА

Схема запчастей Komatsu PC100-2 - ЭЛЕКТРИКА (PC)(№98-) КОМПОНЕНТЫ ДВИГАТЕЛЯ И ЭЛЕКТРИКА
FIT
1:1
100%

Артикул

Название

Примечание

Количество

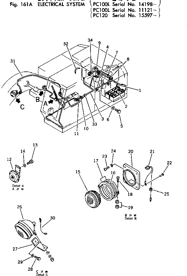
1

08028-12175

CABLE

2

08038-04030

CAP

3

203-06-31313

WIRE ASS'Y

4

08036-11214

CLIP

5

01010-31025

BOLT

6

01643-31032

WASHER

7

08038-00519

CAP

8

08034-00414

BAND

9

08036-10610

CLIP

10

08034-00823

BAND

11

206-54-15750

SEAL

12

175-06-39170

HORN

13

01010-30816

BOLT

14

01602-00825

WASHER

|15

203-06-31300

LAMP ASS'Y

15

08113-02480

BULB¤ 80W

16

08128-00003

HOLDER

17

08128-00004

BAND

18

01220-40420

SCREW

19

01580-10403

NUT

20

203-06-31341

BASE

21

175-06-23230

SOCKET

22

04400-00412

RIVET

23

01220-30816

SCREW

24

01602-00825

WASHER

25

08037-01610

GROMMET

26

08128-32400

LAMP

|26

08113-02480

BULB¤ 80W

|26

08128-00003

HOLDER

|26

08128-00004

BAND

27

203-06-21290

PLATE

28

01010-31430

BOLT

29

01643-31445

WASHER

30

205-06-51390

CABLE

31

203-06-21331

WIRE

32

08028-12045

CABLE

33

205-62-53780

COVER

34

08038-04030

CAP

Выбрано товаров: 38