Запчасти Komatsu PC100-2 ГЛУШИТЕЛЬ И СОЕДИН-Е (PCSS) КОМПОНЕНТЫ ДВИГАТЕЛЯ И ЭЛЕКТРИКА

Схема запчастей Komatsu PC100-2 - ГЛУШИТЕЛЬ И СОЕДИН-Е (PCSS) КОМПОНЕНТЫ ДВИГАТЕЛЯ И ЭЛЕКТРИКА
FIT
1:1
100%

Артикул

Название

Примечание

Количество

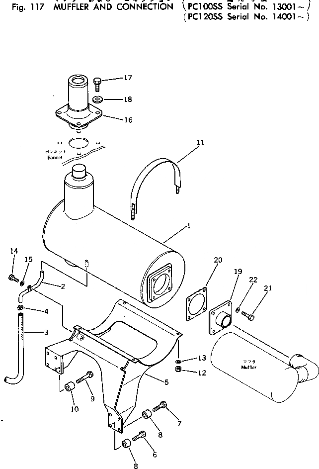
1

6135-11-5580

MUFFLER

2

6135-11-5680

PIPE

3

07260-20971

HOSE

4

07281-00197

CLAMP

5

203-01-86151

BRACKET

6

01010-31040

BOLT

7

01010-31045

BOLT

8

6631-11-5630

SPACER

9

01010-31260

BOLT

10

195-33-11220

SPACER

11

207-01-86160

BAND

12

01580-11210

NUT

13

01643-31232

WASHER

14

01010-31020

BOLT

15

01643-31032

WASHER

16

203-01-86210

PIPE

17

01010-31230

BOLT

18

124-54-26540

WASHER

19

6135-11-5950

FLANGE

20

6710-12-5740

GASKET

21

01010-31035

BOLT

22

01643-31032

WASHER

Выбрано товаров: 22