Запчасти Komatsu PC100-2 MACHINERY ОБСТАНОВКА (/) (PC¤D) ОСНОВНАЯ РАМА И КАБИНА

Схема запчастей Komatsu PC100-2 - MACHINERY ОБСТАНОВКА (/) (PC¤D) ОСНОВНАЯ РАМА И КАБИНА
FIT
1:1
100%

Артикул

Название

Примечание

Количество

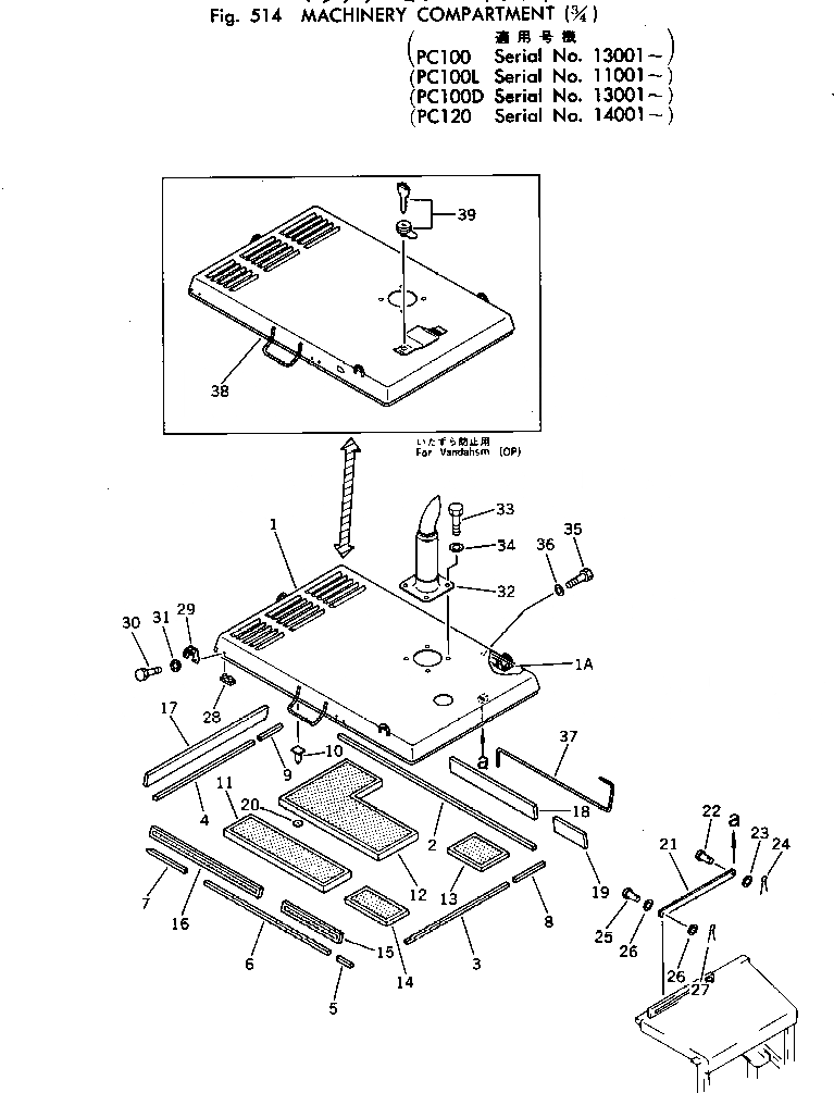
1

203-54-32112

HOOD

1A

203-54-32152

HINGE (WELDED)

2

203-54-33120

SEAT

3

203-54-33130

SEAT

4

203-54-33140

SEAT

5

203-54-33150

SEAT

6

203-54-33160

SEAT

7

203-54-33170

SEAT

8

203-54-33180

SEAT

9

203-54-33190

SEAT

10

04431-10000

CLIP

11

203-54-32821

WOOL,GLASS

12

203-54-32791

WOOL,GLASS

13

203-54-32871

WOOL,GLASS

14

203-54-32812

WOOL,GLASS

15

203-54-32780

WOOL,GLASS

16

203-54-32841

WOOL,GLASS

17

203-54-32831

WOOL,GLASS

18

203-54-32851

WOOL,GLASS

19

203-54-32861

WOOL,GLASS

20

04431-30000

PLATE

21

205-54-64331

STAY

22

04205-01035

PIN

23

01641-01016

WASHER

24

04050-03018

PIN

25

04205-01035

PIN

26

175-54-88110

WASHER

27

04050-03018

PIN

28

205-54-63250

DAMPER

29

581-22-12420

SUPPORT

30

01010-30820

BOLT

31

01605-10818

WASHER

32

203-01-31211

PIPE

33

01010-31225

BOLT

34

124-54-26540

WASHER

35

01010-31025

BOLT

36

01643-31032

WASHER

37

203-54-32131

BAR

38

203-54-33231

HOOD,(FOR VANDALISM)

39

205-54-64930

KEY,(FOR VANDALISM)

Выбрано товаров: 40