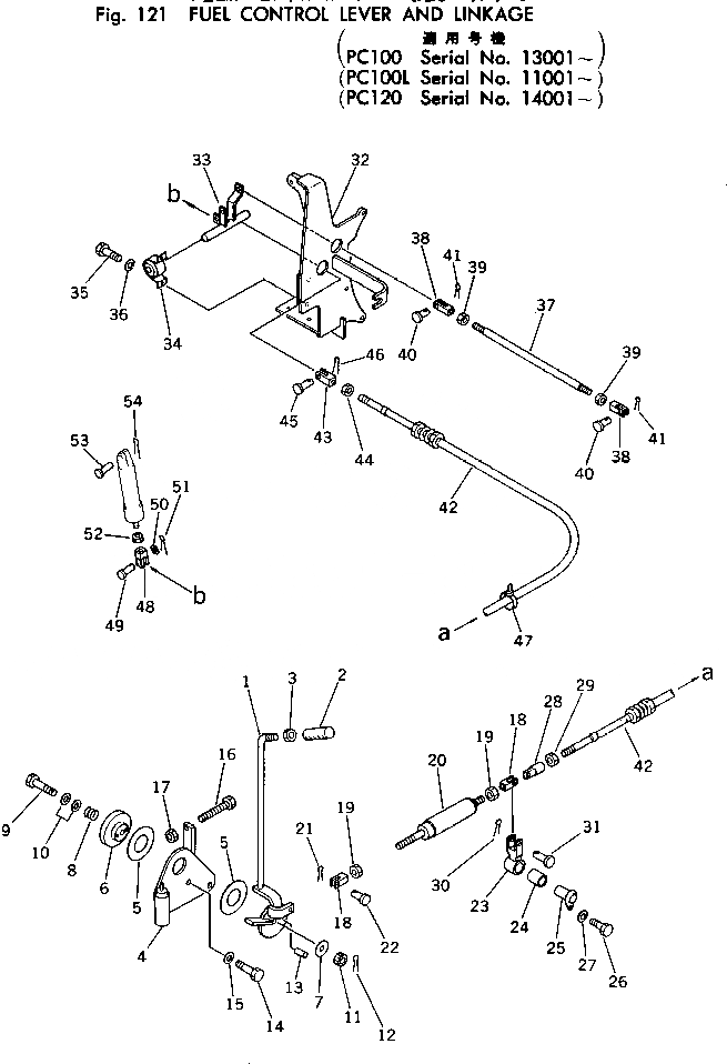
Запчасти Komatsu PC100-2 РЫЧАГ УПРАВЛ-Я ПОДАЧЕЙ ТОПЛИВА И МЕХАНИЗМ (PC) КОМПОНЕНТЫ ДВИГАТЕЛЯ И ЭЛЕКТРИКА

Схема запчастей Komatsu PC100-2 - РЫЧАГ УПРАВЛ-Я ПОДАЧЕЙ ТОПЛИВА И МЕХАНИЗМ (PC) КОМПОНЕНТЫ ДВИГАТЕЛЯ И ЭЛЕКТРИКА
FIT
1:1
100%

Артикул

Название

Примечание

Количество

1

203-43-31514

LEVER

|1

203-43-31880

LEVER,(FOR DELUXE SEAT)

2

205-43-62550

KNOB

3

01582-11210

NUT

4

203-43-31523

BRACKET

5

101-43-11281

FACING

6

201-43-22181

DISC

7

101-43-11380

COVER

8

154-43-14690

SPRING

9

01052-31265

BOLT

10

01640-01223

WASHER

11

01593-11210

NUT

12

04050-13030

PIN

13

04020-00616

PIN

14

01010-31030

BOLT

15

01643-31032

WASHER

16

01016-31070

BOLT

17

01580-11008

NUT

18

04210-21040

YOKE

19

01582-11008

NUT

20

20X-43-12230

SPRING ASS'Y

21

04050-13018

PIN

22

04205-11028

PIN

|23

20X-43-00020

LEVER ASS'Y

23

LEVER

24

09350-02530

BUSHING

25

20X-43-12250

PIN

26

01010-30820

BOLT

27

01602-00825

WASHER

28

20X-43-12280

JOINT

29

01580-11008

NUT

30

04050-13018

PIN

31

04205-11038

PIN

32

203-43-31833

BRACKET

|32

203-43-31832

BRACKET

33

203-43-31841

SHAFT

34

06125-02051

BEARING

35

01010-30820

BOLT

36

01602-00825

WASHER

37

203-43-31821

ROD

|37

203-43-31820

ROD

38

205-43-52480

YOKE

|38

21K-43-11350

YOKE

39

01580-11008

NUT

|39

01580-10806

NUT

40

04205-10626

PIN

|40

04205-10622

PIN

41

04050-11610

PIN

42

203-43-31533

CABLE

43

144-947-2850

YOKE

44

01580-11008

NUT

45

04205-11028

PIN

46

04050-13018

PIN

47

08034-00519

BAND

48

203-43-31852

YOKE

|48

203-43-31850

YOKE

|48

20X-43-12340

YOKE

49

04205-10830

PIN

|49

04205-10825

PIN

50

01641-20812

WASHER

51

04050-12015

PIN

|51

04050-12012

PIN

52

01583-11408

NUT

|52

01580-10806

NUT

53

04205-11235

PIN

54

04050-13020

PIN

Выбрано товаров: 66