Запчасти Komatsu PC100-2 MACHINERY ОБСТАНОВКА (/9) (PCSS) ОСНОВНАЯ РАМА И КАБИНА

Схема запчастей Komatsu PC100-2 - MACHINERY ОБСТАНОВКА (/9) (PCSS) ОСНОВНАЯ РАМА И КАБИНА
FIT
1:1
100%

Артикул

Название

Примечание

Количество

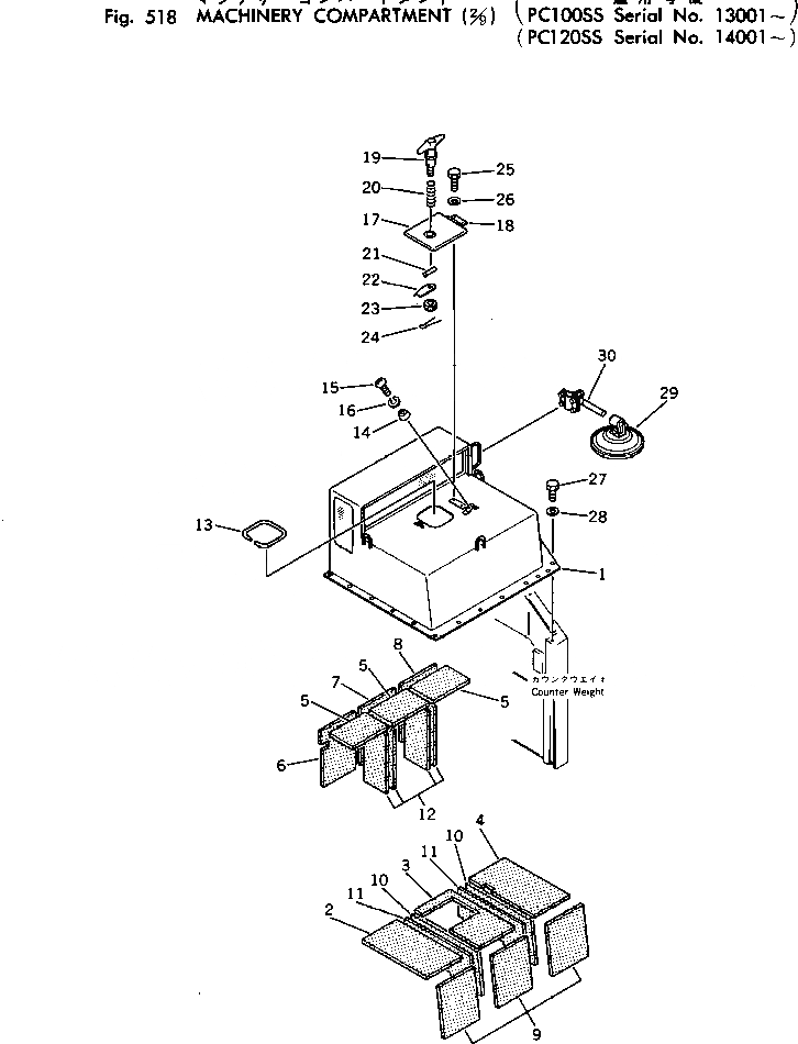
1

203-54-86410

COVER

2

203-54-86430

SHEET

3

203-54-86440

SHEET

4

203-54-86450

SHEET

5

203-54-86420

SHEET

6

203-54-86470

SHEET

7

203-54-86480

SHEET

8

203-54-86490

SHEET

9

203-54-86460

SHEET

10

203-54-86540

SHEET

11

203-54-86550

SHEET

12

203-54-86520

SHEET

13

203-54-82770

SEAL

14

203-54-11280

BOSS

15

01220-30620

SCREW

16

01602-00619

WASHER

17

205-54-81970

COVER

18

203-54-32230

HINGE (WELDED)

19

09468-00001

HANDLE

20

09468-00003

SPRING

21

04025-00532

PIN

22

205-54-81980

PLATE

23

01590-01215

NUT

24

04050-13020

PIN

25

01010-31025

BOLT

26

01643-31032

WASHER

27

01010-31025

BOLT

28

111-54-11740

WASHER

29

20D-06-12280

MIRROR

30

20D-06-12450

STAY

Выбрано товаров: 0