Запчасти Komatsu PC100-2 ГИДРОЛИНИЯ (ГЛУШИТЕЛЬ - КЛАПАН) (PCSS) ГИДРАВЛИКА

Схема запчастей Komatsu PC100-2 - ГИДРОЛИНИЯ (ГЛУШИТЕЛЬ - КЛАПАН) (PCSS) ГИДРАВЛИКА
FIT
1:1
100%

Артикул

Название

Примечание

Количество

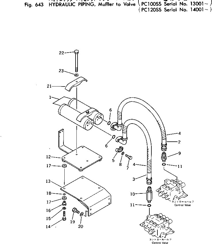
1

206-62-41451

MUFFLER

2

203-62-32220

HOSE

3

203-62-32230

HOSE

4

203-62-32450

COVER

5

07371-21049

FLANGE

6

07000-13032

O-RING

7

01010-31035

BOLT

8

01602-01030

WASHER

9

07230-11034

UNION

10

202-62-11251

NIPPLE

11

07002-13334

O-RING

12

203-62-32250

BRACKET

13

206-62-41410

BRACKET

14

01010-31035

BOLT

15

01643-31032

WASHER

16

206-62-41440

COLLAR

17

206-62-41430

CUSHION

18

07000-02020

O-RING

19

01010-31230

BOLT

20

01643-31232

WASHER

21

206-62-41460

CLAMP

22

01011-31250

BOLT

23

01643-31232

WASHER

Выбрано товаров: 23