Запчасти Komatsu PC100-2 HYD. ТРУБЫ(КЛАПАН T/F КОВШ CYL.)(CHA. )(PC)(PCSS) ГИДРАВЛИКА

Схема запчастей Komatsu PC100-2 - HYD. ТРУБЫ(КЛАПАН T/F КОВШ CYL.)(CHA. )(PC)(PCSS) ГИДРАВЛИКА
FIT
1:1
100%

Артикул

Название

Примечание

Количество

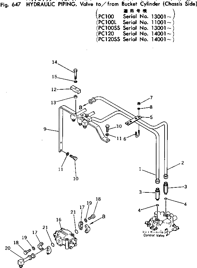
1

203-62-31551

TUBE

2

203-62-31562

TUBE

3

203-62-11410

NIPPLE

4

07002-12434

O-RING

5

203-62-31870

PLATE

6

07283-22738

CLIP

7

01599-01011

NUT

8

01643-31032

WASHER

9

203-62-31912

BRACKET

10

01010-31225

BOLT

11

01643-31230

WASHER

12

202-62-13140

CLAMP

13

203-62-21720

SPACER

14

01010-31270

BOLT

15

01643-31232

WASHER

16

702-15-41000

VALVE ASS'Y

17

07371-30500

FLANGE

18

01010-30830

BOLT

19

01602-00825

WASHER

20

203-62-32480

TUBE

21

07000-13022

O-RING

Выбрано товаров: 21