Качественные детали и логистика
Оригинальные и аналоговые запчасти с доставкой по России, Казахстану и Беларуси
©2022 PartSell ООО "Система" ИНН 2463123282 ОГРН 1212400004838
Центральный офис: г. Красноярск, Академика Киренского, д.87, пом.4
Телефон: 8 (800) 777-65-74 Email: zakaz@partsell.ru
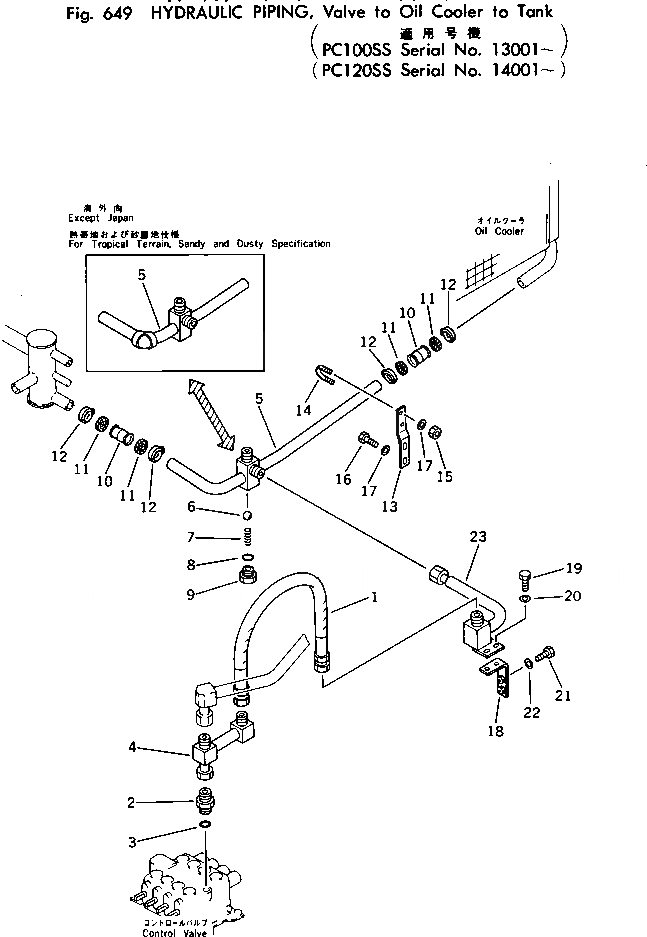
ГИДРОЛИНИЯ (КЛАПАН - МАСЛООХЛАДИТЕЛЬ - БАК) (PCSS)
№
Артикул
Название
Примечание
Количество
1
07102-21007
HOSE
2
07230-11034
UNION
3
07002-13334
O-RING
4
203-62-86460
ELBOW
5
203-62-86530
TUBE
203-62-32490
TUBE,(SANDY AND DUSTY SPEC.)
6
04260-02540
BALL
7
150-49-11560
SPRING
8
07002-03334
9
203-62-31660
PLUG
10
07332-01000
COUPLING ASS'Y
11
07332-51000
GASKET
12
07332-61000
CLAMP
13
203-62-86590
PLATE
14
07283-23442
CLIP
15
01599-01011
NUT
16
01010-31020
BOLT
17
01643-31032
WASHER
18
203-62-32740
BRACKET
19
01010-31025
20
21
01010-31035
22
111-54-11740
23
203-62-32620
Выбрано товаров: 0