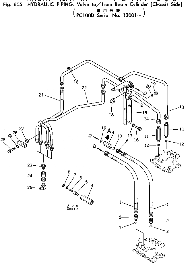
Запчасти Komatsu PC100-2 ГИДРОЛИНИЯ (КЛАПАН T/F ЦИЛИНДР СТРЕЛЫ)(CHA. )(PCD) ГИДРАВЛИКА

Схема запчастей Komatsu PC100-2 - ГИДРОЛИНИЯ (КЛАПАН T/F ЦИЛИНДР СТРЕЛЫ)(CHA. )(PCD) ГИДРАВЛИКА
FIT
1:1
100%

Артикул

Название

Примечание

Количество

1

07123-00608

HOSE

2

07230-10628

UNION

3

07002-12434

O-RING

|$3

203-60-21300

CHECK VALVE ASS'Y

4

203-60-21240

BODY

5

203-60-21250

POPPET

6

203-60-21260

SPRING

7

203-60-21270

SEAT

8

04065-02212

RING

9

07230-10628

UNION

10

07002-12434

O-RING

11

203-62-11590

NIPPLE

12

07002-12434

O-RING

13

202-62-41131

TUBE

14

202-62-41221

TUBE

15

203-62-31633

BRACKET

16

01010-31225

BOLT

17

01643-31232

WASHER

18

07283-22738

CLIP

19

01599-01011

NUT

20

01643-31032

WASHER

21

202-62-41140

TUBE

22

202-62-41230

TUBE

23

202-62-41170

COUPLING

24

202-62-41180

COUPLING

25

575-41-17330

NIPPLE

26

202-62-41240

CLAMP

27

203-62-21720

SPACER

28

01010-31265

BOLT

29

01643-31232

WASHER

Выбрано товаров: 30