Запчасти Komatsu PC100-2 СТРЕЛА (PCD) РАБОЧЕЕ ОБОРУДОВАНИЕ

Схема запчастей Komatsu PC100-2 - СТРЕЛА (PCD) РАБОЧЕЕ ОБОРУДОВАНИЕ
FIT
1:1
100%

Артикул

Название

Примечание

Количество

|$0

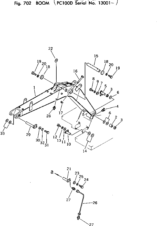
202-70-00014

BOOM ASS'Y

1

BOOM

2

203-70-31241

BUSHING

3

07145-00060

SEAL,DUST

4

07020-00675

FITTING,GREASE

5

203-70-31220

PIN

6

203-70-34260

SPACER, 0.5MM

6

202-70-11640

SPACER, 1.0MM

6

202-70-11650

SPACER, 2.0MM

7

203-70-31230

PLATE

8

01010-31430

BOLT

9

01643-31445

WASHER

10

203-70-31220

PIN

11

203-70-31230

PLATE

12

01010-31430

BOLT

13

01643-31445

WASHER

14

203-70-24150

SPACER, 1.0MM

14

203-70-24160

SPACER, 2.0MM

15

203-70-31180

SHAFT

16

202-70-11441

BOLT

17

01599-01617

NUT

18

202-70-11211

HOLDER

19

01010-31435

BOLT

20

01643-31445

WASHER

21

203-70-31190

PIN

22

203-70-24170

SPACER, 1.0MM

23

203-70-31230

PLATE

24

01010-31430

BOLT

25

01643-31445

WASHER

26

202-70-11410

TUBE

27

07214-60610

CONNECTOR

28

07020-00000

FITTING,GREASE

29

202-70-41140

PIN

30

203-70-31230

PLATE

31

01010-31430

BOLT

32

01643-31445

WASHER

33

202-70-11640

SPACER, 1.0MM

33

203-70-34260

SPACER, 0.5MM

Выбрано товаров: 38