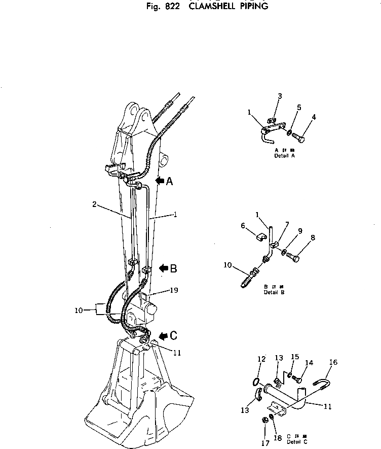
Запчасти Komatsu PC100-2 ГРЕЙФЕРН. ТРУБЫ ОПЦИОННЫЕ КОМПОНЕНТЫ

Схема запчастей Komatsu PC100-2 - ГРЕЙФЕРН. ТРУБЫ ОПЦИОННЫЕ КОМПОНЕНТЫ
FIT
1:1
100%

Артикул

Название

Примечание

Количество

1

202-931-4510

TUBE

2

202-931-4520

TUBE

3

202-931-1110

PLATE

4

01010-31230

BOLT

5

01643-31232

WASHER

6

202-931-4570

CLAMP

7

202-931-4560

CLAMP

8

01010-31250

BOLT

9

01643-31232

WASHER

10

07123-20616

HOSE

11

202-931-4550

TUBE

12

07000-13038

O-RING

13

07371-01250

FLANGE,SPLIT

14

07372-01035

BOLT

15

01602-01030

WASHER

16

07283-03442

CLIP

17

01599-01011

NUT

18

01643-31032

WASHER

19

202-931-1120

PLATE (WELDED)

Выбрано товаров: 0