Запчасти Komatsu PC100-2 НАСОС АВТОМАТИЧ. ЗАПРАВКИ ОПЦИОННЫЕ КОМПОНЕНТЫ

Схема запчастей Komatsu PC100-2 - НАСОС АВТОМАТИЧ. ЗАПРАВКИ ОПЦИОННЫЕ КОМПОНЕНТЫ
FIT
1:1
100%

Артикул

Название

Примечание

Количество

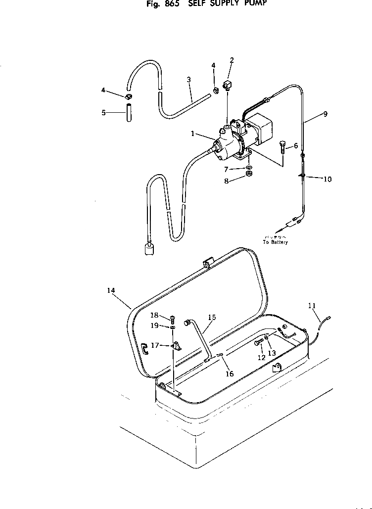
1

206-04-11130

PUMP

2

6115-81-9290

ELBOW

3

07261-22020

HOSE

4

07281-00359

CLAMP

5

207-04-11190

TUBE

6

01010-50825

BOLT

7

01602-20825

WASHER,SPRING

8

01580-10806

NUT

9

203-06-31510

WIRE

10

08034-00414

BAND

11

203-06-31520

WIRE

12

01010-50816

BOLT

13

01643-30823

WASHER

14

203-46-31510

FRAME

15

203-46-31530

BAR

16

04050-13018

PIN,COTTER

17

20B-54-12210

SPRING

18

01220-40408

SCREW

19

01641-20405

WASHER

Выбрано товаров: 19