Запчасти Komatsu PC100-2 ГИДРОЛИНИЯ¤ КЛАПАН - БАК AN DМОТОР ДРЕНАЖН. (PCD) ХОД И КОНЕЧНАЯ ПЕРЕДАЧА

Схема запчастей Komatsu PC100-2 - ГИДРОЛИНИЯ¤ КЛАПАН - БАК AN DМОТОР ДРЕНАЖН. (PCD) ХОД И КОНЕЧНАЯ ПЕРЕДАЧА
FIT
1:1
100%

Артикул

Название

Примечание

Количество

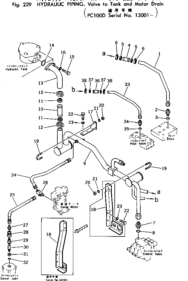
1

202-62-43120

TUBE

2

07230-10628

UNION

3

07002-12434

O-RING

4

07332-00600

COUPLING ASS'Y

5

07332-50600

GASKET

6

07332-60600

CLAMP

7

07230-11034

UNION

8

07002-13334

O-RING

9

202-62-41342

TUBE

10

07332-01400

COUPLING ASS'Y

11

07332-51400

GASKET

12

07332-61400

CLAMP

13

202-62-41330

TUBE

14

07000-03045

O-RING

15

01010-31235

BOLT

16

01643-31232

WASHER

17

202-62-41521

BRACKET

18

202-62-41513

BRACKET

18

202-62-41512

BRACKET

19

07283-24949

CLIP

20

01599-01011

NUT

21

01643-31032

WASHER

22

01010-31225

BOLT

23

01643-31232

WASHER

24

07102-20307

HOSE

25

07102-20304

HOSE

26

202-62-41460

TEE

27

176-62-12510

NIPPLE

28

202-62-41470

COUPLING

29

202-62-41480

COUPLING

30

202-62-41490

ELBOW

31

07239-12009

NUT

32

07002-02034

O-RING

33

202-62-43110

TUBE

34

203-62-32510

NIPPLE

35

07002-12434

O-RING

36

07332-00400

COUPLING ASS'Y

37

07332-50400

GASKET

38

07332-60400

CLAMP

Выбрано товаров: 39