Запчасти Komatsu PC100-2 КАБИНА (/7) ОСНОВНАЯ РАМА И КАБИНА

Схема запчастей Komatsu PC100-2 - КАБИНА (/7) ОСНОВНАЯ РАМА И КАБИНА
FIT
1:1
100%

Артикул

Название

Примечание

Количество

|$0

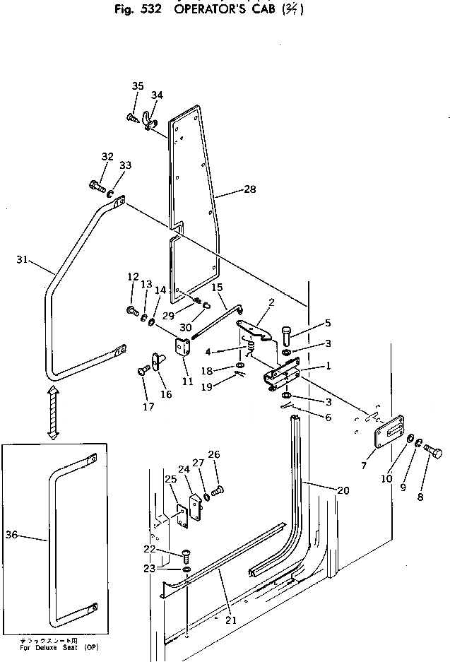
203-54-00112

OPERATOR'S CAB ASS'Y

|$2

205-54-63400

CATCHER ASS'Y

1

205-54-63410

BRACKET

2

205-54-63420

HOOK

3

01641-01016

WASHER

4

205-54-53580

SPRING

5

178-57-11250

PIN

6

04050-02018

PIN

7

205-54-63430

COVER

8

01010-30625

BOLT

9

01602-00619

WASHER

10

01641-00608

WASHER

11

205-54-63451

BRACKET

12

01220-40620

SCREW

13

01602-20619

WASHER

14

01641-20608

WASHER

15

205-54-63440

ROD

16

130-43-63320

KNOB

17

01220-40416

SCREW

18

01641-00812

WASHER

19

04050-02012

PIN

20

205-54-61452

SEAL

21

205-54-63380

PLATE

22

01370-00412

SCREW

23

01641-20405

WASHER

24

566-54-24511

STRIKER

25

566-54-24521

SHIM, 0.8MM

26

01224-40820

SCREW

27

205-54-53730

WASHER

28

205-54-61412

PAD

29

205-54-51560

CLIP

30

205-54-51570

GROMMET

31

205-54-63360

HANDLE

32

01010-51030

BOLT

33

01602-21030

WASHER

34

205-54-51250

HANGER

35

01381-10420

SCREW

36

205-54-63480

HANDLE,(FOR DELUXE SEAT)

Выбрано товаров: 38