Запчасти Komatsu PC100-3 CUT OFF И NEGATIVE УПРАВЛЯЮЩ. КЛАПАН¤ ЗАДН. УПРАВЛ-Е РАБОЧИМ ОБОРУДОВАНИЕМ

Схема запчастей Komatsu PC100-3 - CUT OFF И NEGATIVE УПРАВЛЯЮЩ. КЛАПАН¤ ЗАДН. УПРАВЛ-Е РАБОЧИМ ОБОРУДОВАНИЕМ
FIT
1:1
100%

Артикул

Название

Примечание

Количество

|$0

708-23-01012

PUMP ASS'Y,(HPV55+55)

|$1

708-23-01011

PUMP ASS'Y,(HPV55+55)

|$2

708-23-01010

PUMP ASS'Y,(HPV55+55)

|$3

708-23-10101

PUMP ASS'Y,(HPV55+55)

|$5

708-23-07211

SERVO VALVE ASS'Y,REAR

|$6

708-23-07210

SERVO VALVE ASS'Y,REAR

|$7

708-23-16100

SERVO VALVE ASS'Y,REAR

|$9

708-23-07611

VALVE ASS'Y

|$10

708-23-07610

VALVE ASS'Y

|$11

708-23-17300

VALVE ASS'Y

|$12

708-23-17100

VALVE ASS'Y

|$13

708-23-07032

BODY ASS'Y

|$14

708-23-07031

BODY ASS'Y

|$15

708-23-07030

BODY ASS'Y

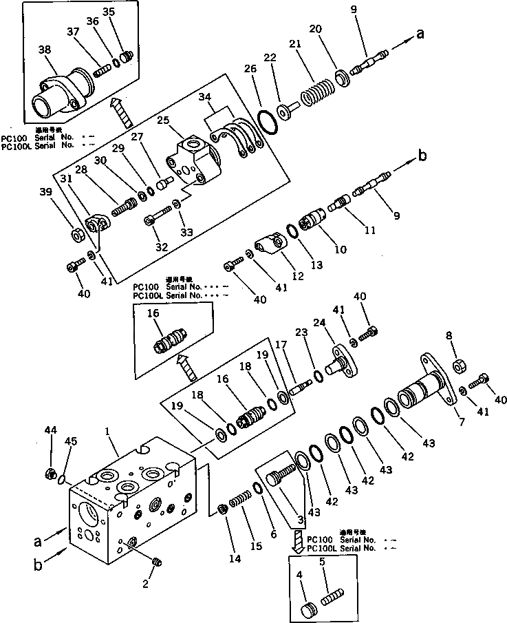
1

BODY

1

BODY

1

BODY

2

EXPANDER

2

PLUG

3

708-25-17122

PLUG

3

708-25-17121

PLUG

3

708-25-17120

PLUG

4

708-25-17420

PLUG

5

708-25-17430

SCREW

6

07000-02010

O-RING

6

07000-02012

O-RING

7

708-25-17131

COVER

7

708-25-17130

COVER

8

01580-10806

NUT

9

708-25-17141

SPOOL

9

708-25-17140

SPOOL

10

708-25-17150

SLEEVE

11

708-25-17160

PISTON

12

708-25-17170

COVER

13

07000-02014

O-RING

14

708-25-17180

SEAT

15

708-25-17190

SPRING

16

708-25-17211

SLEEVE

16

708-25-17210

SLEEVE

17

708-25-17220

PISTON

18

07000-12012

O-RING

19

07001-02012

RING,BACK-UP

20

708-25-17370

SEAT

20

708-25-17240

SEAT

21

708-25-17250

SPRING

22

708-25-17260

SEAT

23

07000-02012

O-RING

24

708-25-17230

COVER

25

708-25-17280

COVER

26

07000-03028

O-RING

27

708-25-17270

PISTON

28

708-25-17290

PLUG

29

07000-11009

O-RING

30

07001-01009

RING,BACK-UP

31

708-25-17310

COVER

32

01252-30630

BOLT

33

01602-20619

WASHER,SPRING

34

708-25-17320

SHIM

34

708-25-17330

SHIM

34

708-25-17340

SHIM

35

708-25-17410

PLUG

36

07000-01009

O-RING

37

708-25-15340

SCREW

38

708-25-17350

COVER

39

01580-10806

NUT

40

708-25-15320

BOLT

40

01252-30616

BOLT

41

01602-20619

WASHER,SPRING

42

07000-12021

O-RING

43

07001-02021

RING,BACK-UP

44

07040-11007

PLUG

45

07002-01023

O-RING

Выбрано товаров: 0