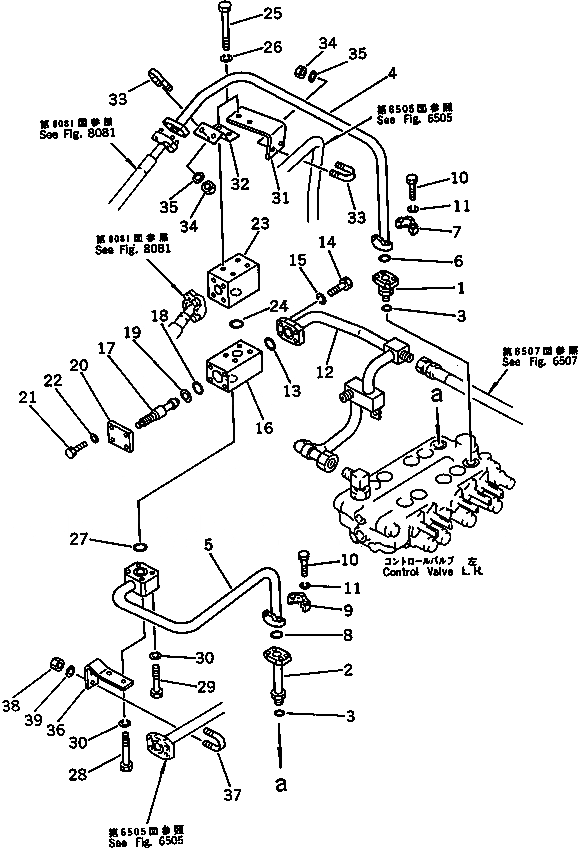
Запчасти Komatsu PC100-3 ДОПОЛН. ГИДРАВЛ КОНТУР (ШАССИ) ОПЦИОННЫЕ КОМПОНЕНТЫ

Схема запчастей Komatsu PC100-3 - ДОПОЛН. ГИДРАВЛ КОНТУР (ШАССИ) ОПЦИОННЫЕ КОМПОНЕНТЫ
FIT
1:1
100%

Артикул

Название

Примечание

Количество

1

203-62-42430

FLANGE

2

203-62-42450

FLANGE

3

07002-12434

O-RING

4

203-973-4381

TUBE

4

203-973-4380

TUBE

5

203-973-4350

TUBE

6

07000-13022

O-RING

7

07371-30500

FLANGE,SPLIT

8

07000-13025

O-RING

9

07371-30638

FLANGE,SPLIT

10

01010-50830

BOLT

11

01602-20825

WASHER,SPRING

12

203-973-4331

TUBE

12

203-973-4330

TUBE

13

07000-13030

O-RING

14

01010-51030

BOLT

15

01602-21030

WASHER,SPRING

|$17

203-973-3800

VALVE ASS'Y

16

203-973-3810

BODY

17

203-973-3820

SPOOL

18

07000-13025

O-RING

19

07001-03025

RING,BACK-UP

20

20T-973-2640

PLATE

21

01010-50820

BOLT

22

01643-30823

WASHER

23

203-973-4340

BLOCK

24

07000-13030

O-RING

25

01011-51000

BOLT

26

01602-21030

WASHER,SPRING

27

07000-13030

O-RING

28

01010-51065

BOLT

29

01010-51060

BOLT

30

01602-21030

WASHER,SPRING

31

203-973-4370

BRACKET

32

203-973-4460

BRACKET

33

07283-22236

CLIP

34

01599-01011

NUT

35

01643-31032

WASHER

36

203-973-4360

BRACKET

37

07283-22738

CLIP

38

01599-01011

NUT

39

01643-31032

WASHER

Выбрано товаров: 0