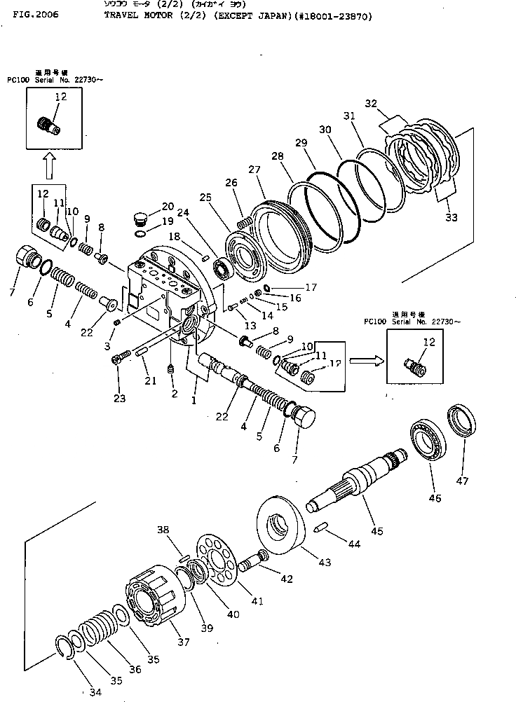
Запчасти Komatsu PC100-3 МОТОР ХОДА (/) (КРОМЕ ЯПОН.)(№8-87) ХОД И КОНЕЧНАЯ ПЕРЕДАЧА

Схема запчастей Komatsu PC100-3 - МОТОР ХОДА (/) (КРОМЕ ЯПОН.)(№8-87) ХОД И КОНЕЧНАЯ ПЕРЕДАЧА
FIT
1:1
100%

Артикул

Название

Примечание

Количество

|$0

202-60-00302

TRAVEL MOTOR ASS'Y

|$1

202-60-00301

TRAVEL MOTOR ASS'Y

|$2

202-60-00300

TRAVEL MOTOR ASS'Y

|$3

202-60-51101

TRAVEL MOTOR ASS'Y

1

TZ150A210101-E

FLANGE KIT,REAR

2

TZMB700-050

PLUG

3

TZROHP00001-8

PLUG

4

TZ200A2056-00

SPRING

5

TZ100A2055-00

SPRING

6

07000-13032

O-RING (KIT)

7

TZ100A2051-00

PLUG

8

TZ100A2054-01

VALVE

9

TZ100A2057-01

SPRING

10

07000-12020

O-RING (KIT)

11

TZ150A2058-00

GUIDE

12

TZ100A2053-01

PLUG

12

TZ150A2053-00

PLUG

13

TZ430F2019-00

VALVE

14

TZ100A2020-00

SPRING

15

07000-11009

O-RING (KIT)

16

TZ100A2018-00

SEAT,VALVE

17

TZ100A2022-00

RING

18

TZJB1354-5-12

PIN

19

07002-02034

O-RING (KIT)

20

TZ100A2021-00

PLUG

21

TZJB1354-10-28

PIN

22

TZ200A2052-00

STOPPER

23

01252-31440

BOLT

24

06000-06005

BEARING

25

TZ210A2009-00

PLATE,TIMING

26

TZ100A2013-00

SPRING

27

TZ231F2012-00

PISTON

28

TZSUN-2BG170

RING,BACK-UP (KIT)

29

07000-15170

O-RING (KIT)

30

07000-15145

O-RING (KIT)

31

TZ231F2023-00

RING,BACK-UP (KIT)

32

TZ100A2016-00

PLATE

33

TZ200A2015-00

DISC

34

TZIRTW-55

RING,SNAP

35

TZ150A2010-00

WASHER

36

TZ430F2028-00

SPRING

37

TZ150A2004-00

BLOCK,CYLINDER

38

TZJB1354-3-30

PIN

39

TZ100A2011-00

WASHER KIT,(19 KINDS)

40

TZ100A2008-00

BALL,THRUST

41

TZ100A2007-00

PLATE,RETAINER

42

TZ200A2105-00

PISTON KIT,(9 PIECES)

43

TZ200A200300-F

PLATE,SWASH

44

TZ150A2017-00

PIN

45

TZ150A2002-00

SHAFT

46

TZ150A2049-00

BEARING

47

TZTCN-48-70-12

SEAL,OIL (KIT)

|$54

TZ150A9000-02

SEAL KIT

|$55

TZ150A9000-00

SEAL KIT

|$56

TZJW1516-G26-9

O-RING

|$57

07000-15260

O-RING

|$58

TZES100-209-A

SEAL,FLOATING

|$59

07000-11006

O-RING

|$60

TZJW1516-G41-9

O-RING

|$61

TZJW1516-P77-7

O-RING

|$62

07000-15270

O-RING

|$63

07000-13032

O-RING

|$64

07000-12020

O-RING

|$65

07000-11009

O-RING

|$66

07002-02034

O-RING

|$67

TZSUN-2BG170

RING,BACK-UP

|$68

07000-15170

O-RING

|$69

07000-15145

O-RING

|$70

TZ231F2023-00

RING,BACK-UP

|$71

TZTCN-48-70-12

SEAL,OIL

Выбрано товаров: 0