Запчасти Komatsu PC100-3 ГИДРОЛИНИЯ (ГЛАВН. КОНТУР)(/)(БЕЗ АВТОМ. ЗАМЕДЛЕНИЕ ОБОРОТОВ)(№-) УПРАВЛ-Е РАБОЧИМ ОБОРУДОВАНИЕМ

Схема запчастей Komatsu PC100-3 - ГИДРОЛИНИЯ (ГЛАВН. КОНТУР)(/)(БЕЗ АВТОМ. ЗАМЕДЛЕНИЕ ОБОРОТОВ)(№-) УПРАВЛ-Е РАБОЧИМ ОБОРУДОВАНИЕМ
FIT
1:1
100%

Артикул

Название

Примечание

Количество

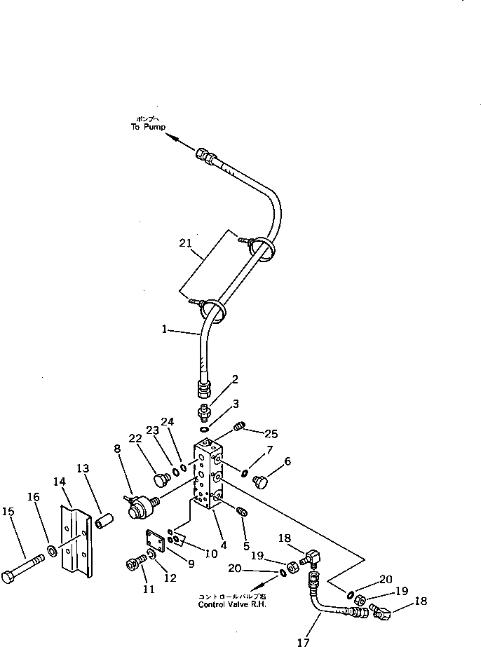
1

07102-20312

HOSE

2

07230-10315

UNION

3

07002-02034

O-RING

4

203-62-41814

BLOCK

5

07042-10108

PLUG

6

07040-11409

PLUG

7

07002-11423

O-RING

8

203-60-42240

SOLENOID VALVE ASS'Y

8

07000-11009

O-RING

8

01252-40545

BOLT

9

203-62-42960

COVER

10

07000-11009

O-RING

11

01252-40520

BOLT

12

01601-20513

WASHER,SPRING

13

203-62-44510

SPACER

14

203-62-44491

COVER

15

01011-51235

BOLT

16

01643-31232

WASHER

17

203-62-44120

HOSE

18

07232-20210

ELBOW

19

07239-11408

NUT

20

07002-01423

O-RING

21

08034-00823

BAND

22

203-62-45130

PLUG

23

07000-02018

O-RING

24

07000-02014

O-RING

25

07043-70108

PLUG

Выбрано товаров: 0