Запчасти Komatsu PC100-3 ОМЫВАТЕЛЬ СТЕКЛА ОПЦИОННЫЕ КОМПОНЕНТЫ

Схема запчастей Komatsu PC100-3 - ОМЫВАТЕЛЬ СТЕКЛА ОПЦИОННЫЕ КОМПОНЕНТЫ
FIT
1:1
100%

Артикул

Название

Примечание

Количество

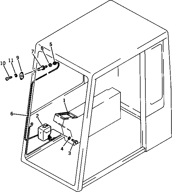
1

205-06-71690

SWITCH ASS'Y

2

206-06-15230

TANK

3

01010-50612

BOLT

4

01643-30623

WASHER

5

201-54-22890

GROMMET

6

205-06-71470

HOSE

7

205-06-61220

NOZZLE ASS'Y

8

205-06-71610

NUT

9

205-06-71590

BRACKET

10

01220-40412

SCREW

11

01601-20410

WASHER,SPRING

Выбрано товаров: 11