Запчасти Komatsu PC100-3 МОРОЗОУСТОЙЧИВ. СПЕЦ-Я СПЕЦ-ЯIFICATIONS(№8-99) ОПЦИОННЫЕ КОМПОНЕНТЫ

Схема запчастей Komatsu PC100-3 - МОРОЗОУСТОЙЧИВ. СПЕЦ-Я СПЕЦ-ЯIFICATIONS(№8-99) ОПЦИОННЫЕ КОМПОНЕНТЫ
FIT
1:1
100%

Артикул

Название

Примечание

Количество

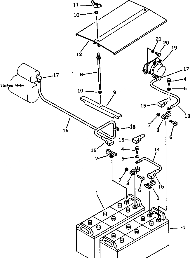
1

08000-32215

BATTERY, WET

2

08000-00000

TERMINAL, (+)

3

08000-00001

TERMINAL, (-)

4

01050-31018

BOLT

5

01640-01016

WASHER

6

01010-30830

BOLT

7

01580-00806

NUT

8

203-09-31120

BOLT

9

203-06-31222

CLAMP

10

01643-31232

WASHER

11

01541-21260

NUT

12

203-06-31212

COVER

13

08028-12045

CABLE

14

08028-12015

CABLE

15

08038-22009

CAP,TERMINAL

16

203-06-41620

WIRE

17

08038-04030

CAP

18

08036-11214

CLIP

19

08088-10000

SWITCH

20

01010-50816

BOLT

21

01602-20825

WASHER,SPRING

22

6130-81-9910

PLATE, CAUTION,(NOT SHOWN)

1

08000-32215

BATTERY, WET

2

08000-00000

TERMINAL, (+)

3

08000-00001

TERMINAL, (-)

4

01050-31018

BOLT

5

01640-01016

WASHER

6

01010-30830

BOLT

7

01580-00806

NUT

8

203-09-31120

BOLT

9

203-06-31222

CLAMP

10

01643-31232

WASHER

11

01541-21260

NUT

12

203-06-31212

COVER

13

08028-12045

CABLE

14

08028-12015

CABLE

15

08038-22009

CAP,TERMINAL

16

203-06-41620

WIRE

17

08038-04030

CAP

18

08036-11214

CLIP

19

08088-10000

SWITCH

20

01010-50816

BOLT

21

01602-20825

WASHER,SPRING

22

6130-81-9910

PLATE, CAUTION,(NOT SHOWN)

Выбрано товаров: 44