Запчасти Komatsu PC100-3 КАБИНА (/7) (СПЕЦ-Я TBG) СПЕЦ. APPLICATION ЧАСТИ¤ МАРКИРОВКА¤ ИНСТРУМЕНТ И РЕМКОМПЛЕКТЫ

Схема запчастей Komatsu PC100-3 - КАБИНА (/7) (СПЕЦ-Я TBG) СПЕЦ. APPLICATION ЧАСТИ¤ МАРКИРОВКА¤ ИНСТРУМЕНТ И РЕМКОМПЛЕКТЫ
FIT
1:1
100%

Артикул

Название

Примечание

Количество

|$0

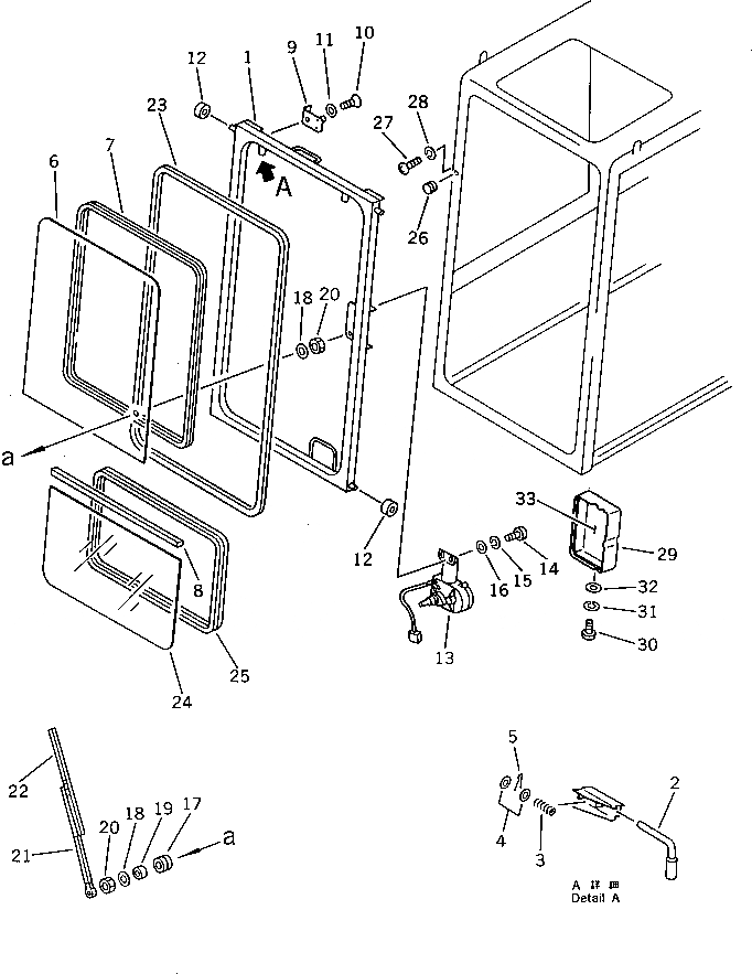
203-54-00361

OPERATOR'S CAB ASS'Y

|$1

203-54-00360

OPERATOR'S CAB ASS'Y

|$3

20G-54-00031

FRONT WINDOW ASS'Y

|$4

20G-54-00030

FRONT WINDOW ASS'Y

1

203-54-43471

WINDOW,FRONT

1

203-54-43470

WINDOW,FRONT

2

203-54-43650

PIN

3

205-54-66330

SPRING

4

01641-21016

WASHER

5

04050-13018

PIN,COTTER

6

203-54-43560

GLASS

7

205-54-71520

STRIP,WEATHER

8

203-54-43530

SEAL

9

566-54-24511

STRIKER

10

01244-40820

SCREW

11

205-54-72750

WASHER,LOCK

12

205-54-72590

ROLLER

13

203-06-41720

WIPER MOTOR ASS'Y

14

01220-40516

SCREW

15

01601-20513

WASHER,SPRING

16

01641-20508

WASHER

17

205-06-62230

GROMMET

18

205-06-62270

WASHER

19

205-06-62240

COLLAR

20

205-06-62250

NUT

21

205-06-71420

ARM

21A

ND857199-0100

PIN KIT

22

205-06-71430

BLADE

23

203-54-43520

SEAL

24

203-54-43620

GLASS ASS'Y

25

203-54-43570

STRIP,WEATHER

26

09415-01008

CAP

27

01220-40412

SCREW

28

01601-20410

WASHER,SPRING

29

203-54-43150

COVER

30

01220-40410

SCREW

31

01601-20410

WASHER,SPRING

32

01641-20405

WASHER

33

205-54-71190

LINING

Выбрано товаров: 0