Запчасти Komatsu PC100-3 MACHINERY ОБСТАНОВКА (/) СПЕЦ. APPLICATION ЧАСТИ¤ МАРКИРОВКА¤ ИНСТРУМЕНТ И РЕМКОМПЛЕКТЫ

Схема запчастей Komatsu PC100-3 - MACHINERY ОБСТАНОВКА (/) СПЕЦ. APPLICATION ЧАСТИ¤ МАРКИРОВКА¤ ИНСТРУМЕНТ И РЕМКОМПЛЕКТЫ
FIT
1:1
100%

Артикул

Название

Примечание

Количество

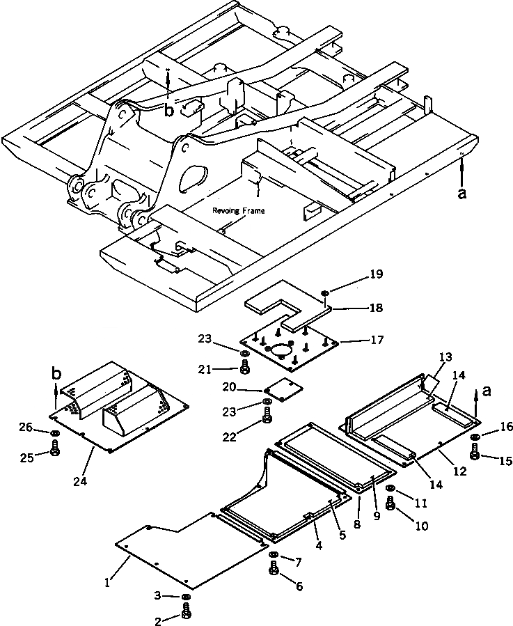
1

203-54-44120

COVER

2

01010-51025

BOLT

3

01643-31032

WASHER

4

203-54-44151

COVER ASS'Y

4

203-54-44150

COVER ASS'Y

5

203-54-44160

SHEET

6

01010-51020

BOLT

7

01643-31032

WASHER

8

203-54-44171

COVER ASS'Y

8

203-54-44170

COVER ASS'Y

9

203-54-44180

SHEET

10

01010-51020

BOLT

11

01643-31032

WASHER

12

203-54-44350

COVER

13

203-54-44360

SHEET

14

203-54-44370

SHEET

15

01010-51025

BOLT

16

01643-31032

WASHER

17

203-54-44190

COVER

18

203-54-44220

SHEET

19

04431-30000

PLATE

20

201-54-26420

PLATE

21

01010-51020

BOLT

22

01010-51025

BOLT

23

01643-31032

WASHER

24

203-54-45540

COVER ASS'Y

25

01010-51025

BOLT

26

01643-31032

WASHER

Выбрано товаров: 28