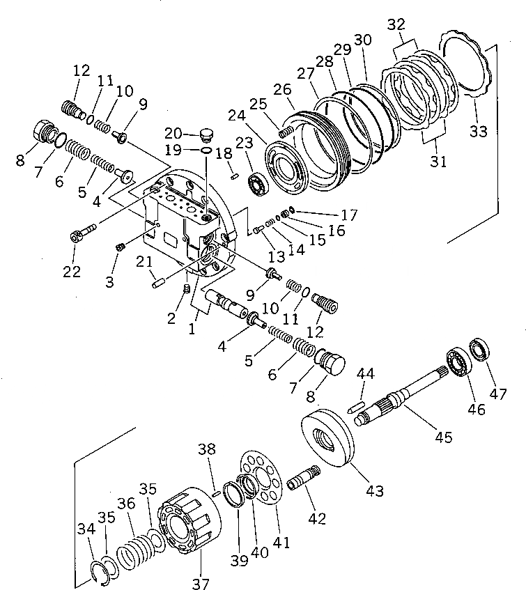
Запчасти Komatsu PC100-3 МОТОР ХОДА (/) (КРОМЕ ЯПОН.)(№87-) ХОД И КОНЕЧНАЯ ПЕРЕДАЧА

Схема запчастей Komatsu PC100-3 - МОТОР ХОДА (/) (КРОМЕ ЯПОН.)(№87-) ХОД И КОНЕЧНАЯ ПЕРЕДАЧА
FIT
1:1
100%

Артикул

Название

Примечание

Количество

|$0

203-60-00310

TRAVEL MOTOR ASS'Y

|$2

TZ150A210101-E

FLANGE KIT,REAR

2

TZMB700-050

PLUG

3

TZGM1-8

PLUG

4

TZ200A2052-00

STOPPER

5

TZ200A2056-00

SPRING

6

TZ100A2055-00

SPRING

7

07000-13032

O-RING (KIT)

8

TZ100A2051-00

PLUG

9

TZ100A2054-01

VALVE

10

TZ100A2057-01

SPRING

11

07000-12020

O-RING (KIT)

12

TZ100A2053-01

PLUG

13

TZ430F2019-00

VALVE

14

TZ100A2020-00

SPRING

15

07000-11009

O-RING (KIT)

16

TZ100A2018-00

SEAT,VALVE

17

TZ100A2022-00

RING

18

TZJB1354-5-12

PIN

19

07002-02034

O-RING (KIT)

20

TZ100A2021-00

PLUG

21

TZJB1354-10-28

PIN

22

01252-31440

BOLT

23

06000-06005

BEARING

24

TZ210A2009-00

PLATE,TIMING

25

TZ100A2013-00

SPRING

26

TZ231F2012-00

PISTON

27

TZSUN-2BG170

RING,BACK-UP (KIT)

28

07000-15170

O-RING (KIT)

29

07000-15145

O-RING (KIT)

30

TZ231F2023-00

RING,BACK-UP (KIT)

31

TZ100A2016-00

PLATE

32

TZ200A2015-00

DISC

33

TZ200B2074-00

PLATE

34

TZIRTW-55

RING,SNAP

35

TZ150A2010-00

WASHER

36

TZ430F2028-00

SPRING

37

TZ150A2004-00

BLOCK,CYLINDER

38

TZJB1354-3-30

PIN,DOWEL

39

TZ100A2011-00

WASHER KIT,(19 KINDS)

40

TZ100A2008-00

BALL,THRUST

41

TZ100A2007-00

PLATE,RETAINER

|$43

TZ200A2105-00

PISTON KIT,(9 PIECES)

43

TZ400A200300-P

PLATE,SWASH

44

TZ100A2017-00

PIN

45

TZ400A2002-00

SHAFT

46

06000-06207

BEARING

47

TZTCN-32-52-11

SEAL,OIL (KIT)

|$50

TZ400A9000-00

SEAL KIT

|$51

07000-15280

O-RING

|$52

TZES100-250-A

SEAL,FLOATING

|$53

07000-11008

O-RING

|$54

TZJW1516-G41-9

O-RING

|$55

TZARP568-378-9

O-RING

|$56

07000-13032

O-RING

|$57

07000-12020

O-RING

|$58

07000-11009

O-RING

|$59

07002-02034

O-RING

|$60

TZSUN-2BG170

RING,BACK-UP

|$61

07000-15170

O-RING

|$62

07000-15145

O-RING

|$63

TZ231F2023-00

RING,BACK-UP

|$64

TZTCN-32-52-11

SEAL,OIL

Выбрано товаров: 0