Запчасти Komatsu PC100-3 MACHINERY ОБСТАНОВКА (/)(№8-99) ОСНОВНАЯ РАМА И КАБИНА

Схема запчастей Komatsu PC100-3 - MACHINERY ОБСТАНОВКА (/)(№8-99) ОСНОВНАЯ РАМА И КАБИНА
FIT
1:1
100%

Артикул

Название

Примечание

Количество

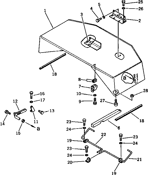
|1

203-54-00480

MACHINE CAB ASS'Y

|1

203-54-00312

MACHINE CAB ASS'Y

1

HOOD

|1

HOOD

2

203-54-44950

HINGE,L.H.

3

203-54-44960

HINGE,R.H.

4

01010-51020

BOLT

5

01643-31032

WASHER

6

203-54-42861

SEAT

|6

203-54-42860

SHEET

7

203-54-42350

BRACKET

8

203-54-44940

PLATE

9

01010-51025

BOLT

10

01643-31032

WASHER

11

203-54-42242

BRACKET

12

20R-54-21430

STAY

13

20R-54-21440

BOLT

14

20R-54-21450

BOLT

15

01580-11008

NUT

16

01010-51030

BOLT

17

01643-31032

WASHER

18

203-54-42830

TRIM

19

203-54-42270

PLATE

20

203-54-42280

PLATE

21

203-54-42570

BAR,TORSION¤ L.H.

22

203-54-42580

BAR,TORSION¤ R.H.

23

01010-51025

BOLT

24

01643-31032

WASHER

25

01010-51020

BOLT

26

144-854-1890

WASHER

27

201-54-21360

CUSHION

28

01580-10504

NUT

Выбрано товаров: 32