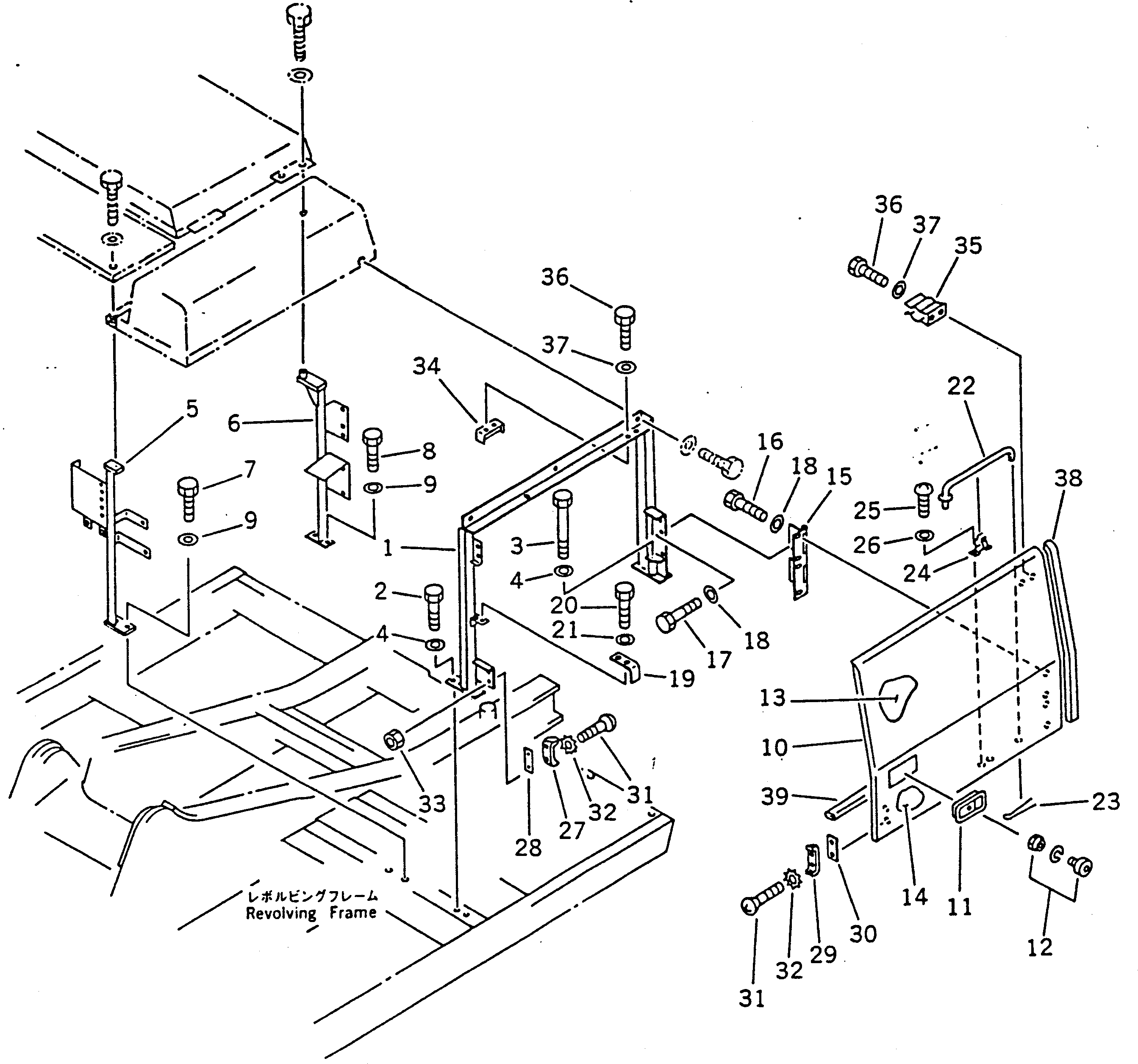
Запчасти Komatsu PC100-5 ЛЕВ. КРЫШКА(PCSS)(№8-98) ЧАСТИ КОРПУСА

Схема запчастей Komatsu PC100-5 - ЛЕВ. КРЫШКА(PCSS)(№8-98) ЧАСТИ КОРПУСА
FIT
1:1
100%

Артикул

Название

Примечание

Количество

1

203-54-52344

BRACKET

2

01010-51030

BOLT

3

01011-51030

BOLT

4

01643-31032

WASHER

5

203-54-52174

BRACKET

6

203-54-56760

BRACKET

7

01010-51025

BOLT

8

01010-51030

BOLT

9

01643-31032

WASHER

10

203-54-55750

COVER ASS'Y

11

421-54-11372

LOCK ASS'Y (WELDED)

12

421-54-11381

LOCK

13

203-54-55730

SHEET

14

203-54-55740

SHEET

15

203-54-52411

HINGE

16

01010-51225

BOLT

17

01010-51230

BOLT

18

01643-31232

WASHER

19

203-54-52620

PLATE

20

01010-51025

BOLT

21

01643-31032

WASHER

22

203-54-52631

BAR

23

04050-13018

PIN,COTTER

24

20B-54-12210

SPRING

25

01220-40406

SCREW

26

01641-20405

WASHER

27

566-54-13410

STRIKER

28

203-54-56790

PLATE

29

566-54-14420

STOPPER

30

203-54-52610

PLATE

31

01225-40820

SCREW

32

566-54-13570

WASHER

33

01580-00806

NUT

34

203-54-56810

BRACKET

35

203-54-56820

CLAMP

36

01010-51025

BOLT

37

01643-31032

WASHER

38

09412-00008

SEAL

39

09412-00009

SEAL

Выбрано товаров: 0