Запчасти Komatsu PC100-5 ЗАДН. КРЫШКА (/) (PCSS)(№8-) ЧАСТИ КОРПУСА

Схема запчастей Komatsu PC100-5 - ЗАДН. КРЫШКА (/) (PCSS)(№8-) ЧАСТИ КОРПУСА
FIT
1:1
100%

Артикул

Название

Примечание

Количество

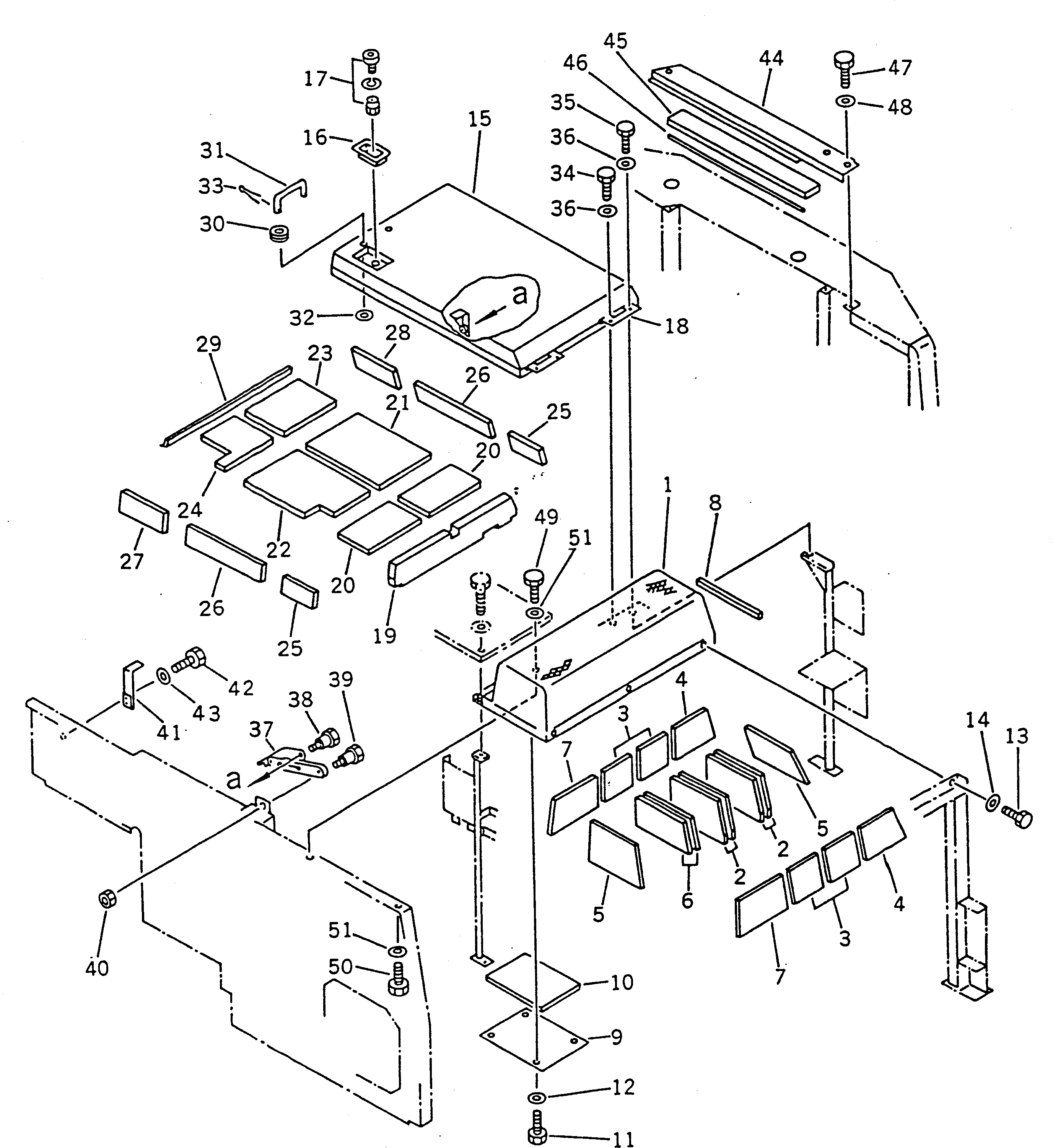
1

203-54-55290

COVER ASS'Y

2

203-54-55410

SHEET

3

203-54-55420

SHEET

4

203-54-55430

SHEET

5

203-54-55440

SHEET

6

203-54-55450

SHEET

7

203-54-55460

SHEET

8

203-54-55790

SHEET

9

203-54-55380

COVER

10

203-54-55390

SHEET

11

01010-51016

BOLT

12

01643-31032

WASHER

13

01010-51025

BOLT

14

01643-31032

WASHER

15

203-54-55280

COVER ASS'Y

16

421-54-11372

LOCK ASS'Y (WELDED)

17

421-54-11381

LOCK

18

203-54-52241

HINGE (WELDED)

19

203-54-55320

SHEET

20

203-54-55330

SHEET

21

203-54-55340

SHEET

22

203-54-55350

SHEET

23

203-54-55360

SHEET

24

203-54-55370

SHEET

25

203-54-55680

SHEET

26

203-54-55690

SHEET

27

203-54-55710

SHEET

28

203-54-55720

SHEET

29

09412-10009

SEAL

30

08037-01008

GROMMET

31

203-54-55820

BAR

32

01643-31032

WASHER

33

04050-12020

PIN,COTTER

34

01010-51025

BOLT

35

01010-51030

BOLT

36

01643-31032

WASHER

37

203-54-56910

STAY

38

20R-54-21450

BOLT

39

20R-54-21440

BOLT

40

01580-11008

NUT

41

203-54-55220

BRACKET

42

01010-51025

BOLT

43

01643-31032

WASHER

44

203-54-55780

COVER

45

203-54-55770

SHEET

46

09412-00009

SEAL

47

01010-51025

BOLT

48

01643-31032

WASHER

49

01010-51050

BOLT

50

01010-51025

BOLT

51

01643-31032

WASHER

Выбрано товаров: 51