Запчасти Komatsu PC100-5 СИДЕНЬЕ ОПЕРАТОРА (ДЛЯ УДЛИНН. РЫЧАГ УПРАВЛ-Е)(№8-) ЧАСТИ КОРПУСА

Схема запчастей Komatsu PC100-5 - СИДЕНЬЕ ОПЕРАТОРА (ДЛЯ УДЛИНН. РЫЧАГ УПРАВЛ-Е)(№8-) ЧАСТИ КОРПУСА
FIT
1:1
100%

Артикул

Название

Примечание

Количество

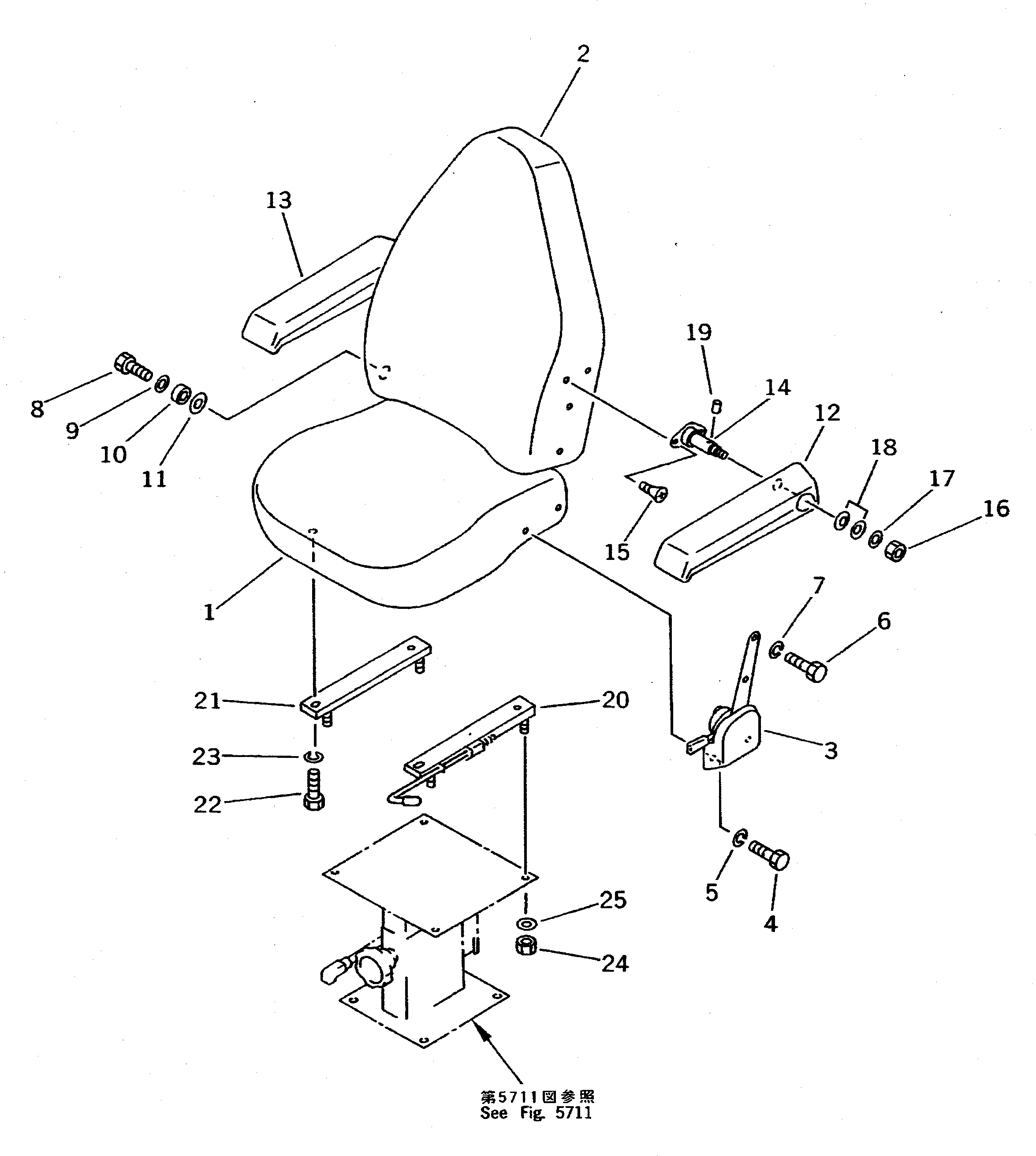
1

203-57-53110

CUSHION,SEAT

2

203-57-53120

CUSHION,BACK

3

203-57-53220

RECLINING ASS'Y

4

01010-50816

BOLT

5

01602-20825

WASHER,SPRING

6

01010-50820

BOLT

7

01602-20825

WASHER,SPRING

8

01010-51030

BOLT

9

01643-31032

WASHER

10

203-57-53180

COLLAR

11

01643-31032

WASHER

12

203-57-53130

ARM REST,L.H.

13

203-57-53140

ARM REST,R.H.

14

203-57-53150

SHAFT

15

203-57-53170

SCREW

16

01580-11008

NUT

17

124-54-26540

WASHER

18

203-57-53160

SPRING

19

04020-00820

PIN,DOWEL

20

203-57-51562

ADJUSTER,L.H.

21

203-57-51570

ADJUSTER,R.H.

22

01010-50820

BOLT

23

01602-20825

WASHER,SPRING

24

01580-10806

NUT

25

01643-30823

WASHER

Выбрано товаров: 0